| key | PART NO. | PART NAME | QTY | SERIAL NO. | REMARKS | |
|---|---|---|---|---|---|---|
| 1 | 19M7167 | Винт с головкой | 1 | M10 X 25 | ||
| 2 | 19M9837 | Винт | 3 | M8 X 25 | ||
| 3 | R46414 | Скоба | 1 | |||
| 4 | AN303334 | Провод заземления | 1 | |||
| 5 | AN305767 | Кабель аккумулятора | 1 | (+) | ||
| 6 | ...... | Батарея сухой зарядки | 2 | 12V, 50Ah | ||
| 7 | 14M7649 | Фланцевая гайка | 1 | M8 | ||
| 8 | T70659 | Скоба | 2 | |||
| 9 | AN205833 | Клемма электр. разъема | 1 | (-) | ||
| AN205832 | Клемма электр. разъема | 1 | (+) | |||
| key | PART NO. | PART NAME | QTY | SERIAL NO. | REMARKS | |
| 10 | R96066 | Крышка | 1 | |||
| 11 | R135871 | Клемма электр. разъема | 1 | |||
| 12 | 19M8306 | Винт | 1 | M12 X 50 | ||
| 13 | 28H2531 | Втулка | 1 | 0.546" X 0.840" X 7/8" SUB FOR H140466 | ||
| 14 | 24M7047 | Шайба | 1 | 13 X 24 X 2.500 mm | ||
| 15 | AN302693 | Провод заземления | 1 | |||
| 16 | 24M7606 | Шайба | 4 | 10.500 X 20 X 2 mm | ||
| 17 | 14M7273 | Гайка | 2 | M8 | ||
| 18 | 24M7055 | Шайба | 3 | 8.400 X 16 X 1.600 mm | ||
| 19 | 57M8964 | Плавкий предохранитель | 1 | 250A | ||
| key | PART NO. | PART NAME | QTY | SERIAL NO. | REMARKS | |
| 20 | 19M7863 | Винт | 2 | M6 X 25 | ||
| 21 | RE239622 | Контактный блок | 1 | |||
| 22 | 14M7397 | Стопорная гайка | 2 | M6 |
| key | PART NO. | PART NAME | QTY | SERIAL NO. | REMARKS | |
|---|---|---|---|---|---|---|
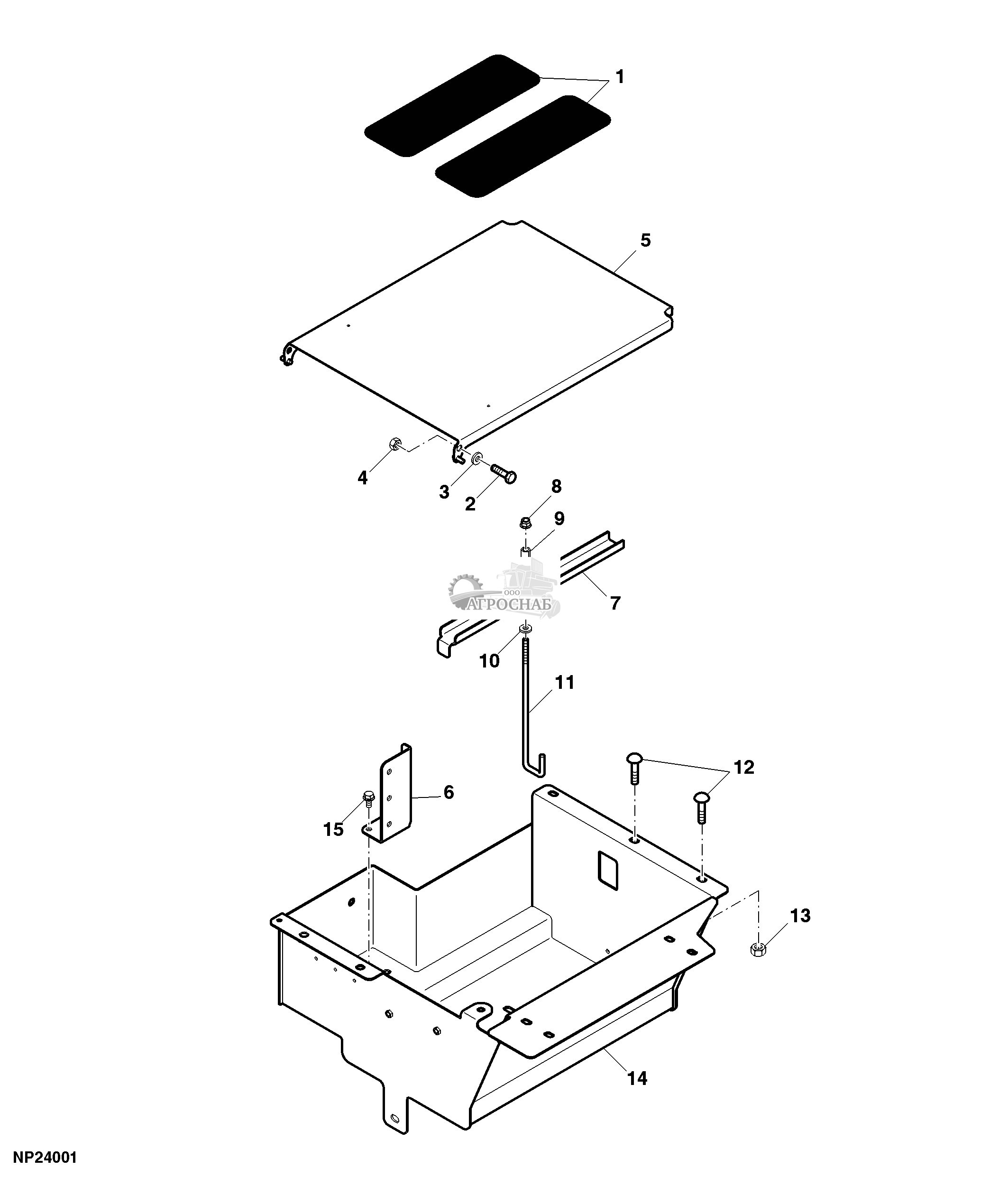
| 1 | R65514 | Полоса | 2 | |||
| 2 | 19M7867 | Винт | 4 | M8 X 25 | ||
| 3 | 24M7260 | Шайба | 4 | 8.400 X 24 X 2 mm | ||
| 4 | 14M7426 | Стопорная гайка | 2 | M8 | ||
| 5 | AN303338 | Дверца | 1 | |||
| 6 | N313416 | Кронштейн | 1 | |||
| 7 | N313350 | Кронштейн | 1 | |||
| 8 | 14M7722 | Стопорная гайка | 1 | M8 | ||
| 9 | 28H3376 | Распорная втулка | 1 | 0.364" X 0.540" X 9/16" | ||
| 10 | N207996 | Шайба | 1 | |||
| key | PART NO. | PART NAME | QTY | SERIAL NO. | REMARKS | |
| 11 | N404420 | Г-образный болт | 1 | |||
| 12 | 03M7395 | Болт | 2 | M10 X 25 | ||
| 13 | 14M7723 | Стопорная гайка | 2 | M10 | ||
| 14 | AN305379 | Аккумуляторный ящик | 1 | |||
| 15 | 19M9405 | Винт | 2 | M8 X 16 |
| key | PART NO. | PART NAME | QTY | SERIAL NO. | REMARKS | |
|---|---|---|---|---|---|---|
| 1 | N313555 | Крышка | 1 | |||
| 2 | N312271 | Кронштейн | 1 | |||
| 3 | N312270 | Кронштейн | 2 | |||
| 4 | 14M7591 | Стопорная гайка | AR | M8 | ||
| 5 | 24M7055 | Шайба | AR | 8.400 X 16 X 1.600 mm | ||
| 6 | 14M7298 | Фланцевая гайка | AR | M8 | ||
| 7 | 19M7862 | Винт | AR | M6 X 20 | ||
| 8 | T27550 | Зажимная скоба | 1 | |||
| 9 | N309632 | Хомут | 1 | |||
| 10 | 19M7163 | Винт с головкой | AR | M8 X 25 | ||
| key | PART NO. | PART NAME | QTY | SERIAL NO. | REMARKS | |
| 11 | 03M7185 | Болт | AR | M8 X 25 | ||
| 12 | H77698 | Обвязной хомут | 1 | |||
| 13 | N220757 | Уголок | 1 | |||
| 14 | E63524 | Гайка | AR | |||
| 15 | 19M9837 | Винт | 4 | M8 X 25 |
| key | PART NO. | PART NAME | QTY | SERIAL NO. | REMARKS | |
|---|---|---|---|---|---|---|
| 1 | RE531808 | Электрон. блок управления | 1 | |||
| 2 | 19M9841 | Винт | 2 | M8 X 50 |
| key | PART NO. | PART NAME | QTY | SERIAL NO. | REMARKS | |
|---|---|---|---|---|---|---|
| 1 | 14M7722 | Стопорная гайка | 4 | M8 | ||
| 2 | 14M7723 | Стопорная гайка | 2 | M10 | ||
| 3 | 19M10012 | Винт | 4 | M8 X 45 | ||
| 4 | 19M9845 | Винт | 6 | M10 X 25 | ||
| 5 | KK31758 | Кронштейн | 1 | |||
| 6 | KK31760 | Кронштейн | 1 | RH | ||
| 7 | KK31759 | Кронштейн | 1 | LH | ||
| 8 | 03M7396 | Болт | 2 | M10 X 35 | ||
| 9 | RE577140 | Контроллер двигателя | 1 |
| key | PART NO. | PART NAME | QTY | SERIAL NO. | REMARKS | |
|---|---|---|---|---|---|---|
| 1 | AN303693 | Электрон. блок управления | 1 | |||
| 2 | 19M8040 | Винт | 2 | M6 X 60 | ||
| 3 | R231112 | Изолятор | 4 | |||
| 4 | 14M7592 | Стопорная гайка | 2 | M6 |
| key | PART NO. | PART NAME | QTY | SERIAL NO. | REMARKS | |
|---|---|---|---|---|---|---|
| 1 | AN207114 | Пульт управления | 1 | |||
| 2 | 37M7233 | Винт | 2 | M6 X 70 | ||
| 3 | M86500 | Трак | 1 | |||
| 4 | R49921 | Скоба | 1 | |||
| 5 | 24M7139 | Шайба | 1 | 6.400 X 18 X 1.600 mm |
| key | PART NO. | PART NAME | QTY | SERIAL NO. | REMARKS | |
|---|---|---|---|---|---|---|
| 1 | 19M7185 | Винт с головкой | 1 | M8 X 60 | ||
| 2 | AL203265 | Гудок | 1 | |||
| 3 | 14M7743 | Гайка | 1 | M8 |
| key | PART NO. | PART NAME | QTY | SERIAL NO. | REMARKS | |
|---|---|---|---|---|---|---|
| 1 | AN400188 | Предупр. сигнал движения | 1 | |||
| 2 | 57M7254 | Корпус электр. разъема | 1 | |||
| 3 | 19M9836 | Винт | 2 | M8 X 20 | ||
| 4 | 14M7722 | Стопорная гайка | 2 | M8 |
| key | PART NO. | PART NAME | QTY | SERIAL NO. | REMARKS | |
|---|---|---|---|---|---|---|
| 1 | 19M7177 | Винт с головкой | 1 | M6 X 35 | ||
| 2 | 19M8825 | Винт | 1 | M3 X 10 | ||
| 3 | R153185 | Ручка | 1 | |||
| 4 | R110682 | Рычаг | 1 | |||
| 5 | R122339 | Шайба | 2 | |||
| 6 | R112513 | Шайба | 2 | |||
| 7 | R129518 | Передача | 1 | |||
| 8 | R118453 | Зажимная скоба | 1 | |||
| 9 | R124812 | Кронштейн | 1 | |||
| 10 | 37M7349 | Винт | 1 | |||
| key | PART NO. | PART NAME | QTY | SERIAL NO. | REMARKS | |
| 11 | 14M7165 | Стопорная гайка | 1 | M6 | ||
| 12 | RE56400 | Потенциометр | 1 | |||
| 13 | 24M7117 | Шайба | 1 | 4.300 X 9 X 0.800 mm | ||
| 14 | H111706 | Винт | 1 | |||
| 15 | R259090 | Шайба | 1 | |||
| 16 | 24M7105 | Шайба | 1 | 6 X 12 X 1.600 mm | ||
| 17 | R133983 | Винт | 1 | |||
| 18 | R124873 | Пружина | 1 |
| key | PART NO. | PART NAME | QTY | SERIAL NO. | REMARKS | |
|---|---|---|---|---|---|---|
| 1 | PF13379 | Заглушка | 1 | |||
| 2 | 21M7246 | Винт | 2 | M6 X 16 | ||
| 3 | PFA10510 | Радиоаппаратура | 1 | |||
| 4 | PF11703 | Винт | 2 | |||
| 5 | 24M7146 | Шайба | 2 | 4.300 X 12 X 1 mm | ||
| 6 | PF81301 | Антенна | 1 | 902 MHz | ||
| 7 | PF90740 | Комплект оборудования | 1 |
| key | PART NO. | PART NAME | QTY | SERIAL NO. | REMARKS | |
|---|---|---|---|---|---|---|
| 1 | 21M7267 | Винт | 2 | M6 X 20 | ||
| 2 | PFA10097 | Радиоаппаратура | 1 | |||
| 3 | 24M7054 | Шайба | 2 | 6.400 X 12 X 1.600 mm | ||
| 4 | PF81461 | Антенна | 1 |
| key | PART NO. | PART NAME | QTY | SERIAL NO. | REMARKS | |
|---|---|---|---|---|---|---|
| 1 | H132795 | Панель | 1 | (B) | ||
| 2 | RE265545 | Радиоаппаратура | 1 | (A) | ||
| RE321106 | Радиоаппаратура | 1 | (C) | |||
| 3 | 24M7138 | Шайба | 1 | 5.300 X 15 X 1 mm | ||
| 4 | RE196193 | Радиоаппаратура | 1 | (A) Field Installation Kit | ||
| RE289852 | Радиоаппаратура | 1 | (C) Field Installation Kit | |||
| 5 | RE165739 | Жгут пров. громкоговорит. | 1 | |||
| 6 | 21M7395 | Винт | 1 | M4 X 8 | ||
| 7 | 14M7297 | Гайка | 1 | M5 | ||
| 8 | R113042 | Кронштейн | 1 | |||
| key | PART NO. | PART NAME | QTY | SERIAL NO. | REMARKS | |
| 9 | R95800 | Рамка | 1 | |||
| 10 | 37M7369 | Винт | 2 | |||
| 11 | 37M7369 | Винт | 2 | |||
| 12 | H117239 | Прижимная гайка | 2 | (B) |
| key | PART NO. | PART NAME | QTY | SERIAL NO. | REMARKS | |
|---|---|---|---|---|---|---|
| 1 | 19M7932 | Винт с головкой | 1 | M8 X 16 | ||
| 2 | 12M7032 | Стопорная шайба | 1 | 8.400 mm | ||
| 3 | 14M7166 | Стопорная гайка | 1 | M8 | ||
| 4 | RE271821 | Кабель антенны | 1 | |||
| 5 | R134326 | Пластина | 1 | |||
| 6 | R126355 | Винт | 2 | |||
| 7 | R41440 | Уплотнение | 1 | |||
| 8 | R125869 | Трак | 2 |
| key | PART NO. | PART NAME | QTY | SERIAL NO. | REMARKS | |
|---|---|---|---|---|---|---|
| 1 | RE254829 | Громкоговоритель | 4 | |||
| 2 | 37M7218 | Винт | 16 |
| key | PART NO. | PART NAME | QTY | SERIAL NO. | REMARKS | |
|---|---|---|---|---|---|---|
| 1 | RE247791 | Антенна | 1 | |||
| 2 | 12H310 | Стопорная шайба | 1 | 3/8" | ||
| R34812 | Уплотнительное кольцо | 1 | ||||
| 3 | RE61651 | Пружина | 1 | |||
| 4 | 12H302 | Стопорная шайба | 1 | 1/4" | ||
| 5 | RE252092 | Антенна | 1 | |||
| R131991 | Колпачок | 1 | ||||
| 6 | 12H356 | Стопорная шайба | 1 | 1/4" | ||
| 7 | 14H786 | Гайка | 1 | 1/4" | ||
| 8 | 12H292 | Стопорная шайба | 1 | 1/2" | ||
| key | PART NO. | PART NAME | QTY | SERIAL NO. | REMARKS | |
| 9 | R76695 | Гайка | 1 | |||
| 10 | RE281646 | Кабель антенны | 1 | |||
| 11 | RE252087 | Антенна | 1 | |||
| 12 | RE252821 | Распорная втулка | 1 |
| key | PART NO. | PART NAME | QTY | SERIAL NO. | REMARKS | |
|---|---|---|---|---|---|---|
| 1 | R248569 | Рамка | 1 | |||
| 2 | 37M7385 | Винт | 2 | |||
| 3 | 14M7194 | Гайка | 1 | M6 | ||
| 4 | 37M7384 | Винт | 2 | |||
| 5 | RE67015 | Фитинг переходника | 1 | |||
| 6 | 14M7297 | Гайка | 2 | M5 |
| key | PART NO. | PART NAME | QTY | SERIAL NO. | REMARKS | ||
|---|---|---|---|---|---|---|---|
| 1 | RE61418 | Ручка | 1 | ||||
| 2 | RE55036 | Тумблер/кулисный переключ. | 1 | ||||
| 3 | RE46634 | Переключатель | 1 | Wiper/Washer Switch | |||
| 4 | RE152147 | Ручка | 1 | ||||
| 5 | R64822 | Гайка | 1 | ||||
| 6 | R44165 | Стопорная гайка | 2 | ||||
| 7 | R328450 | Метка | 1 | ||||
| 8 | R191931 | Стопор | 1 | ||||
| 9 | R131671 | Заглушка | 1 | ||||
| 10 | N400205 | Метка | 1 | ||||
| key | PART NO. | PART NAME | QTY | SERIAL NO. | REMARKS | ||
| 11 | RE575390 | Панель | 1 | SUB FOR N313967 | |||
| 12 | N208178 | Блокировка | 8 | ||||
| 13 | N206073 | Метка | 1 | ||||
| 14 | N204341 | Угловое соединение | 4 | ||||
| 15 | ...... | Электрич. нагруз. центр | 1 | ||||
| 16 | N202894 | Заглушка | 1 | ||||
| 17 | M115279 | Заглушка | 5 | ||||
| 18 | AR56766 | Корпус | 1 | ||||
| 19 | AN302435 | Жгут проводов | 1 | - | 004999 | ||
| RE575391 | Жгут проводов | 1 | 005000 | - | |||
| key | PART NO. | PART NAME | QTY | SERIAL NO. | REMARKS | ||
| 20 | R553045 | Метка | 1 | SUB FOR AN302417 | |||
| 21 | AN207008 | Индикаторная лампа | 1 | Stop | |||
| 22 | AN202878 | Потенциометр | 1 | Rate Control | |||
| 23 | AN202797 | Тумблер/кулисный переключ. | 7 | Fence Row Option | |||
| 24 | AN202624 | Панель | 1 | ||||
| 25 | AN153760 | Индикаторная лампа | 1 | Caution | |||
| 26 | AN153662 | Тумблер/кулисный переключ. | 1 | DPDT Switch | |||
| 27 | R47474 | Зажимная скоба | 1 | ||||
| 28 | 37H215 | Винт | 1 | ||||
| 29 | AL36529 | Переключатель | 1 | Console RH | |||
| key | PART NO. | PART NAME | QTY | SERIAL NO. | REMARKS | ||
| 30 | AL76568 | Ручка | 3 | ||||
| 31 | L57881 | Зажимная скоба | 1 | ||||
| 32 | RE248943 | Переключатель | 1 | Demist | |||
| 33 | RE43497 | Переключатель | 1 | Blower Motor | |||
| 34 | RE46742 | Пульт управления | 1 | Temprature | |||
| 35 | RE58614 | Толкающе-буксир. кабель | 1 | ||||
| 36 | R255948 | Метка | 1 | ||||
| 37 | RE575389 | Пульт | 1 | ||||
| 38 | R504112 | Обвязной хомут | 1 |
| key | PART NO. | PART NAME | QTY | SERIAL NO. | REMARKS | |
|---|---|---|---|---|---|---|
| 1 | AH164497 | Лампа | 2 | ORDER AXE52986 | ||
| AXE52986 | Лампа | 2 | ||||
| AD2062R | Лампа накаливания | 2 | ||||
| 2 | 14M7724 | Стопорная гайка | 2 | M12 | ||
| 3 | N125300 | Пружина | 2 | |||
| 4 | R125634 | Эксцентрик | 4 | |||
| 5 | 03M7477 | Болт | 2 | M12 X 60 | ||
| 6 | N208741 | Хомут | 2 |
| key | PART NO. | PART NAME | QTY | SERIAL NO. | REMARKS | |
|---|---|---|---|---|---|---|
| 1 | 14M7724 | Стопорная гайка | 10 | M12 | ||
| 2 | 19M9347 | Винт | 10 | M12 X 30 | ||
| 3 | 14M7722 | Стопорная гайка | 1 | M8 | ||
| 4 | 19M9836 | Винт | 1 | M8 X 20 | ||
| 5 | N318894 | Хомут | 1 | |||
| 6 | AN304598 | Жгут проводов | 4 | Warning Light |
| key | PART NO. | PART NAME | QTY | SERIAL NO. | REMARKS | |
|---|---|---|---|---|---|---|
| 1 | RE251386 | Кронштейн | 2 | |||
| 2 | RE181281 | Прожектор | 2 | |||
| 3 | RE179326 | Лампа накаливания | 1 | |||
| 4 | R175462 | Кожух | 2 | |||
| 5 | 19M7303 | Винт с головкой | 2 | M12 X 45 | ||
| 6 | R194198 | Уплотнение | 2 | |||
| 7 | R183947 | Распорная втулка | 2 | |||
| 8 | 24M7047 | Шайба | 4 | 13 X 24 X 2.500 mm | ||
| 9 | 12H301 | Стопорная шайба | 2 | 1/2" | ||
| 10 | R230361 | Опора | 2 | |||
| key | PART NO. | PART NAME | QTY | SERIAL NO. | REMARKS | |
| 11 | 14M7517 | Стопорная гайка | 4 | M10 | ||
| 12 | R250240 | Крышка | 2 | |||
| 13 | 37M7334 | Винт | 8 | M4 X 20 | ||
| 14 | 24M7419 | Шайба | 8 | 4.300 X 12 X 1 mm | ||
| 15 | R252736 | Уплотнительное кольцо | 2 | |||
| 16 | RE64231 | Лампа | 1 | |||
| 17 | 37H214 | Винт | 2 | 0.190" X 1" | ||
| 18 | N310073 | Кронштейн | 1 | |||
| 19 | 37M7160 | Винт | 2 | M6 X 16 | ||
| 20 | L100644 | Уплотнение | 1 |
| key | PART NO. | PART NAME | QTY | SERIAL NO. | REMARKS | |
|---|---|---|---|---|---|---|
| 1 | RE179973 | Прожектор | 4 | INCLUDES RE179326 | ||
| 2 | R175462 | Кожух | 4 | |||
| 3 | R252736 | Уплотнительное кольцо | 4 | |||
| 4 | RE179326 | Лампа накаливания | 2 | |||
| 5 | N310419 | Уголок | 2 | |||
| 6 | 19M10027 | Винт с головкой | 4 | M16 X 60 | ||
| 7 | 19M9826 | Винт с головкой | 4 | M12 X 25 | ||
| 8 | 12H386 | Стопорная шайба | 4 | 1/2" | ||
| 9 | N313715 | Кронштейн | 1 | |||
| 10 | 19M9844 | Винт | 2 | M10 X 20 | ||
| key | PART NO. | PART NAME | QTY | SERIAL NO. | REMARKS | |
| 11 | 24M7521 | Шайба | 4 | 17 X 30 X 3 mm |
| key | PART NO. | PART NAME | QTY | SERIAL NO. | REMARKS | |
|---|---|---|---|---|---|---|
| 1 | AN303137 | Жгут проводов | 2 | |||
| 2 | H77698 | Обвязной хомут | AR | |||
| 3 | R175462 | Кожух | 2 | |||
| 4 | RE179973 | Прожектор | 2 | 12V | ||
| 5 | N310419 | Уголок | 2 | |||
| 6 | 19M9826 | Винт с головкой | 2 | M12 X 25 | ||
| 7 | RE179326 | Лампа накаливания | 2 | |||
| 8 | 12H386 | Стопорная шайба | 2 | 1/2" | ||
| 9 | 19M7759 | Винт с головкой | 4 | M16 X 60 | ||
| 10 | R252736 | Уплотнительное кольцо | 2 |
| key | PART NO. | PART NAME | QTY | SERIAL NO. | REMARKS | |
|---|---|---|---|---|---|---|
| 1 | 19M9837 | Винт | 4 | M8 X 25 | ||
| 2 | AN207022 | Лампа | 2 | |||
| 3 | N310297 | Гайка | 4 | |||
| 4 | AN303580 | Уголок | 1 | LH | ||
| 5 | AN303581 | Уголок | 1 | RH | ||
| 6 | H77698 | Обвязной хомут | 2 | |||
| 7 | JD5920 | Отражатель | 4 | Red | ||
| 8 | JD5921 | Отражатель | 2 | Yellow | ||
| 9 | JD5922 | Отражатель | 4 | Orange |
| key | PART NO. | PART NAME | QTY | SERIAL NO. | REMARKS | |
|---|---|---|---|---|---|---|
| 1 | RE181913 | Передняя фара | 1 | RH; Work Light | ||
| 2 | RE185880 | Лампа накаливания | 2 | |||
| 3 | RE181963 | Передняя фара | 2 | |||
| 4 | R195278 | Пружина сжатия | 6 | |||
| 5 | L79050 | Щиток от пыли | 1 | |||
| 6 | 57M7166 | Лампа накаливания | 2 | |||
| 7 | M73135 | Прижимная гайка | 6 | 3.175 mm | ||
| 8 | RE181916 | Передняя фара | 1 | LH; Work Light | ||
| 9 | R207529 | Изолятор | 4 | |||
| 10 | R207528 | Сальник | 2 | |||
| key | PART NO. | PART NAME | QTY | SERIAL NO. | REMARKS | |
| 11 | R207530 | Изолятор | 4 | |||
| 12 | 37M7348 | Винт | 2 | |||
| 13 | 37M7373 | Винт | 6 |
| key | PART NO. | PART NAME | QTY | SERIAL NO. | REMARKS | |
|---|---|---|---|---|---|---|
| 1 | M73135 | Прижимная гайка | 6 | |||
| 2 | RE205361 | Прожектор | 1 | LH | ||
| 3 | 37M7348 | Винт | 2 | |||
| 4 | 37M7237 | Винт | 4 | |||
| 5 | RE205362 | Прожектор | 1 | RH | ||
| 6 | R207528 | Сальник | 2 | |||
| 7 | L150689 | Лампа накаливания | 3 | |||
| 8 | RE205348 | Электрический балласт | 1 | |||
| 9 | R207529 | Изолятор | 2 | |||
| 10 | 37M7373 | Винт | 6 | |||
| key | PART NO. | PART NAME | QTY | SERIAL NO. | REMARKS | |
| 11 | R207530 | Изолятор | 2 | |||
| 12 | RE205360 | Прожектор | 2 | Center | ||
| 13 | R195278 | Пружина сжатия | 6 | |||
| 14 | RE185882 | Электрический балласт | 3 | |||
| 15 | R206360 | Трак | 2 | |||
| 16 | R201520 | Кронштейн | 2 |
| key | PART NO. | PART NAME | QTY | SERIAL NO. | REMARKS | |
|---|---|---|---|---|---|---|
| 1 | Z51982 | Заглушка | 2 | |||
| 2 | 37M7375 | Винт | 2 | M5 X 8 | ||
| 3 | AT140957 | Переключатель | 1 | |||
| 4 | AN304050 | Жгут проводов | 1 | |||
| 5 | AN304105 | Кронштейн | 1 | |||
| 6 | AN304067 | Кронштейн | 1 | |||
| 7 | L100644 | Уплотнение | 1 | |||
| 8 | R41440 | Уплотнение | 1 | |||
| 9 | AZ101891 | Вращающийся маяк | 2 | |||
| 10 | AZ34621 | Выходное гнездо | 2 | |||
| key | PART NO. | PART NAME | QTY | SERIAL NO. | REMARKS | |
| 11 | 37M7451 | Винт | 2 | M8 X 25 |
| key | PART NO. | PART NAME | QTY | SERIAL NO. | REMARKS | |
|---|---|---|---|---|---|---|
| 1 | AA58907 | Лампа | 1 | Amber / Black | ||
| 2 | H77698 | Обвязной хомут | 2 | |||
| 3 | N312289 | Кронштейн | 1 | |||
| 4 | 19M9405 | Винт | 2 | M8 X 16 | ||
| 5 | 14M7649 | Фланцевая гайка | 2 | M8 |
| key | PART NO. | PART NAME | QTY | SERIAL NO. | REMARKS | |
|---|---|---|---|---|---|---|
| 1 | H77698 | Обвязной хомут | AR | |||
| 2 | AM118013 | Лампа накаливания | 1 | Halogen GE 894, 37.5 Watt | ||
| 3 | R175462 | Кожух | 1 | |||
| 4 | AN206264 | Прожектор | 1 | |||
| 5 | 19M7872 | Винт с головкой | 1 | M12 X 25 |
| key | PART NO. | PART NAME | QTY | SERIAL NO. | REMARKS | |
|---|---|---|---|---|---|---|
| 1 | RE329937 | Кабель | 1 | |||
| 2 | 37M7058 | Винт | 1 | M8 X 20 | ||
| 3 | R105388 | Обвязной хомут | 1 | |||
| 4 | R114103 | Скоба | 1 | |||
| 5 | R213663 | Скоба | 2 | |||
| 6 | AH78237 | Скоба | 3 | |||
| 7 | 37M7108 | Винт | 1 | M8 X 60 | ||
| 8 | 28H3390 | Распорная втулка | 1 | 0.364" X 0.540" X 1" | ||
| 9 | 24H1781 | Шайба | 1 | 13/32" X 7/8" X 1/4" | ||
| 10 | R281023 | Шланг | 1 |
| key | PART NO. | PART NAME | QTY | SERIAL NO. | REMARKS | |
|---|---|---|---|---|---|---|
| 1 | RE43637 | Пускатель | 1 | |||
| 2 | 51M7042 | Уплотнительное кольцо | 1 | 13.300 X 2.200 mm | ||
| 3 | RE46534 | Переключатель | 1 | |||
| 4 | N204598 | Метка | 1 | Boom Fold |
| key | PART NO. | PART NAME | QTY | SERIAL NO. | REMARKS | |
|---|---|---|---|---|---|---|
| 1 | 14H631 | Гайка | 2 | 0.190" | ||
| 2 | 24M7027 | Шайба | 2 | 5.300 X 10 X 1 mm | ||
| 3 | 57M8964 | Плавкий предохранитель | 1 | 250A | ||
| 4 | AN306677 | Реле стартера | 1 | |||
| 5 | R264946 | Крышка | 1 | |||
| 6 | RE239622 | Контактный блок | 1 | |||
| 7 | 14M7721 | Стопорная гайка | 4 | M6 | ||
| 8 | 19M9404 | Винт | 4 | M6 X 20 | ||
| 9 | 19M9832 | Винт | 2 | M6 X 25 | ||
| 10 | 14H785 | Гайка | 2 | 5/16" | ||
| key | PART NO. | PART NAME | QTY | SERIAL NO. | REMARKS | |
| 11 | 24M7055 | Шайба | 4 | 8.400 X 16 X 1.600 mm | ||
| 12 | 14M7273 | Гайка | 2 | M8 |
| key | PART NO. | PART NAME | QTY | SERIAL NO. | REMARKS | |
|---|---|---|---|---|---|---|
| 1 | 14M7297 | Гайка | 2 | M5 | ||
| 2 | 24M7027 | Шайба | 2 | 5.300 X 10 X 1 mm | ||
| 3 | 57M8964 | Плавкий предохранитель | 1 | 250A | ||
| 4 | RE339008 | Реле стартера | 1 | |||
| 5 | R264946 | Крышка | 1 | |||
| 6 | RE239622 | Контактный блок | 1 | |||
| 7 | 14M7721 | Стопорная гайка | 4 | M6 | ||
| 8 | 19M9404 | Винт | 4 | M6 X 20 | ||
| 9 | 19M9832 | Винт | 2 | M6 X 25 | ||
| 10 | 14M7273 | Гайка | 4 | M8 | ||
| key | PART NO. | PART NAME | QTY | SERIAL NO. | REMARKS | |
| 11 | 24M7055 | Шайба | 4 | 8.400 X 16 X 1.600 mm |
| key | PART NO. | PART NAME | QTY | SERIAL NO. | REMARKS | |
|---|---|---|---|---|---|---|
| 1 | 14H785 | Гайка | 2 | 5/16" | ||
| 2 | 24M7055 | Шайба | 2 | 8.400 X 16 X 1.600 mm | ||
| 3 | 14H631 | Гайка | 1 | 0.190" | ||
| 4 | AH160278 | Реле | 1 | |||
| 5 | 24M7054 | Шайба | 2 | 6.400 X 12 X 1.600 mm | ||
| 6 | H77698 | Обвязной хомут | 1 | |||
| 7 | 24M7027 | Шайба | 1 | 5.300 X 10 X 1 mm | ||
| 8 | 19M7774 | Винт | 2 | M6 X 12 | ||
| 9 | RE518552 | Перемычка | 1 |
| key | PART NO. | PART NAME | QTY | SERIAL NO. | REMARKS | |
|---|---|---|---|---|---|---|
| 1 | T55585 | Колпачок | 1 | |||
| 2 | 24M7053 | Шайба | 1 | 17 X 30 X 3 mm | ||
| 3 | R39554 | Переключатель | 1 | |||
| 4 | R77480 | Узел электрич. разъема | 1 | |||
| 5 | MN10665 | Кронштейн | 1 | INCLUDES R107598 | ||
| R107598 | Кронштейн | 1 | ||||
| 6 | 19M7775 | Винт | 2 | M6 X 16 | ||
| 7 | RE46736 | Узел электрич. разъема | 1 | |||
| 8 | ...... | Жгут проводов кабины | 1 | |||
| 9 | R115974 | Гайка | 1 | |||
| key | PART NO. | PART NAME | QTY | SERIAL NO. | REMARKS | |
| 10 | RE61717 | Поворотный переключатель | 1 | |||
| 11 | RE183935 | Кнопка | 1 | |||
| 12 | A4827R | Шайба | 1 |
| key | PART NO. | PART NAME | QTY | SERIAL NO. | REMARKS | |
|---|---|---|---|---|---|---|
| 1 | 57M9570 | Узел электрич. разъема | 1 | Air Filter Restriction | ||
| 2 | 57M7293 | Корпус электр. разъема | 1 | A/C Clutch | ||
| 57M7295 | Блок. устр. эл. разъема | 1 | ||||
| 3 | ...... | Провод заземления | 1 | A/C Clutch | ||
| 4 | ...... | Провод заземления | 1 | Alternator D+ | ||
| 5 | 57M8039 | Узел электрич. разъема | 1 | Fuel Injection Connector | ||
| 57M8009 | Блок. устр. эл. разъема | 1 | ||||
| 6 | ...... | Провод заземления | 1 | Glow Plug Relay Voltage Sense | ||
| 7 | ...... | Провод заземления | 1 | Glow Plug Relay | ||
| 8 | ...... | Провод заземления | 1 | Glow Plug Relay | ||
| key | PART NO. | PART NAME | QTY | SERIAL NO. | REMARKS | |
| 9 | 57M8601 | Корпус электр. разъема | 1 | Intake Air Temp | ||
| 57M8633 | Вспом. электр. разъем | 1 | ||||
| 10 | 57M7254 | Корпус электр. разъема | 1 | Water In Fuel | ||
| 57M7289 | Блок. устр. эл. разъема | 1 | ||||
| 11 | ...... | Муфта | 1 | Start Relay Power | ||
| 12 | ...... | Муфта | 1 | Ground | ||
| 13 | ...... | Муфта | 1 | Starter Solenoid | ||
| 14 | ...... | Муфта | 1 | Start Signal | ||
| 15 | ...... | Муфта | 1 | Start Relay Power | ||
| 16 | ...... | Муфта | 1 | Starter Solenoid | ||
| key | PART NO. | PART NAME | QTY | SERIAL NO. | REMARKS | |
| 17 | ...... | Муфта | 1 | Ground | ||
| 18 | 57M7697 | Узел электрич. разъема | 1 | Auxiliary Power Connection | ||
| 57M9555 | Зажимная скоба | 1 | ||||
| 57M7699 | Клемма электр. разъема | 1 | ||||
| 19 | 57M8518 | Корпус электр. разъема | 1 | Auxiliary Power Connection | ||
| 57M8528 | Колпачок электр. разъема | 1 | ||||
| 20 | 57M8407 | Корпус электр. разъема | 1 | Rail Pressure | ||
| 57M8417 | Блок. устр. эл. разъема | 1 | ||||
| 21 | 57M8400 | Узел электрич. разъема | 1 | Fuel Temp | ||
| 22 | 57M8403 | Корпус электр. разъема | 1 | PCV | ||
| key | PART NO. | PART NAME | QTY | SERIAL NO. | REMARKS | |
| 23 | 57M8625 | Корпус электр. разъема | 1 | Oil Pressure | ||
| 57M8624 | Блок. устр. эл. разъема | 1 | ||||
| 24 | 57M8601 | Корпус электр. разъема | 1 | Engine Cam Sensor | ||
| 57M8633 | Вспом. электр. разъем | 1 | ||||
| 25 | 57M8601 | Корпус электр. разъема | 1 | Coolant Temp | ||
| 57M8633 | Вспом. электр. разъем | 1 | ||||
| 26 | 57M8601 | Корпус электр. разъема | 1 | Engine Crank Sensor | ||
| 57M8633 | Вспом. электр. разъем | 1 | ||||
| 27 | 57M8523 | Корпус электр. разъема | 1 | |||
| 57M8528 | Колпачок электр. разъема | 1 | ||||
| key | PART NO. | PART NAME | QTY | SERIAL NO. | REMARKS | |
| 28 | AN303856 | Жгут проводов | 1 | Aux. Power Connection | ||
| 29 | 24M7028 | Шайба | 1 | 10.500 X 20 X 2 mm | ||
| 30 | AH76883 | Зажимная скоба | 1 | Water In Fuel | ||
| 31 | RE167207 | Датчик | 1 | (A) | ||
| 32 | 57M7254 | Корпус электр. разъема | 1 | |||
| 33 | AN206290 | Жгут проводов | 1 |
| key | PART NO. | PART NAME | QTY | SERIAL NO. | REMARKS | |
|---|---|---|---|---|---|---|
| 1 | 57M9570 | Узел электрич. разъема | 1 | Датчик закупорки воздушного фильтра | ||
| 57M7251 | Клемма электр. разъема | 2 | ||||
| 57M9219 | Уплотнен. электр. разъема | 2 | ||||
| 2 | 57M7293 | Корпус электр. разъема | 1 | Муфта кондиционера | ||
| 57M7295 | Блок. устр. эл. разъема | 1 | ||||
| 57M7285 | Клемма электр. разъема | 1 | ||||
| 57M9218 | Уплотнен. электр. разъема | 1 | ||||
| 3 | ...... | Провод заземления | 1 | Муфта кондиционера | ||
| 4 | 57M8873 | Клемма электр. разъема | 1 | D+ генератора | ||
| 5 | 57M8039 | Узел электрич. разъема | 1 | Разъем топливной форсунки | ||
| key | PART NO. | PART NAME | QTY | SERIAL NO. | REMARKS | |
| 57M8009 | Блок. устр. эл. разъема | 1 | ||||
| 57M7546 | Клемма электр. разъема | 8 | ||||
| 6 | 57M7254 | Корпус электр. разъема | 1 | |||
| 57M7289 | Блок. устр. эл. разъема | 1 | ||||
| R104846 | Клемма электр. разъема | 2 | ||||
| 57M7258 | Уплотнен. электр. разъема | 2 | ||||
| 7 | ...... | Провод заземления | 1 | Реле запальной свечи | ||
| 8 | 57M8872 | Клемма электр. разъема | 1 | Реле запальной свечи | ||
| 9 | 57M8530 | Клемма электр. разъема | 1 | Реле запальной свечи | ||
| 10 | 57M8601 | Корпус электр. разъема | 1 | Температура воздуха в коллекторе | ||
| key | PART NO. | PART NAME | QTY | SERIAL NO. | REMARKS | |
| 57M8633 | Вспом. электр. разъем | 4 | ||||
| 57M8618 | Клемма электр. разъема | 1 | ||||
| 57M8566 | Уплотнен. электр. разъема | 1 | ||||
| 11 | 57M7966 | Узел электрич. разъема | 1 | Реле топливного насоса | ||
| 57M8878 | Блок. устр. эл. разъема | 1 | ||||
| RE505187 | Реле | 1 | ||||
| 57M7707 | Клемма электр. разъема | 2 | ||||
| 57M9218 | Уплотнен. электр. разъема | 1 | ||||
| 57M9219 | Уплотнен. электр. разъема | 2 | ||||
| 57M7903 | Клемма электр. разъема | 1 | ||||
| key | PART NO. | PART NAME | QTY | SERIAL NO. | REMARKS | |
| 57M9216 | Уплотнен. электр. разъема | 1 | ||||
| 57M7904 | Клемма электр. разъема | 1 | ||||
| 12 | 57M7254 | Корпус электр. разъема | 1 | Вода в топливе | ||
| 57M7289 | Блок. устр. эл. разъема | 1 | ||||
| 57M7494 | Клемма электр. разъема | 2 | ||||
| 57M9215 | Уплотнен. электр. разъема | 2 | ||||
| 13 | 57M8161 | Корпус электр. разъема | 1 | Топливоподкачивающий насос | ||
| 57M8162 | Узел электрич. разъема | 1 | ||||
| 57M7297 | Клемма электр. разъема | 2 | ||||
| 57M9218 | Уплотнен. электр. разъема | 2 | ||||
| key | PART NO. | PART NAME | QTY | SERIAL NO. | REMARKS | |
| 14 | 57M8868 | Клемма электр. разъема | 1 | Питание реле запуска | ||
| 15 | ...... | Провод заземления | 1 | Земля | ||
| 16 | 57M8868 | Клемма электр. разъема | 1 | Соленоид стартера | ||
| 17 | ...... | Провод заземления | 1 | Сигнал запуска | ||
| 18 | ...... | Провод заземления | 1 | Питание реле запуска | ||
| 19 | 57M7547 | Клемма электр. разъема | 1 | Соленоид стартера | ||
| 20 | ...... | Провод заземления | 1 | Земля |
| key | PART NO. | PART NAME | QTY | SERIAL NO. | REMARKS | |
|---|---|---|---|---|---|---|
| 1 | AKK18603 | Жгут проводов | 1 | |||
| 2 | 57M10280 | Клемма электр. разъема | 1 | A / C Clutch Ground | ||
| 3 | T209627 | Скоба | 21 | |||
| 4 | 57M7293 | Корпус электр. разъема | 1 | A / C Clutch | ||
| 5 | 57M9570 | Узел электрич. разъема | 1 | Air Filter Restriction | ||
| 6 | 57M8636 | Корпус электр. разъема | 1 | Fuel Injection Connector | ||
| 7 | 57M8601 | Корпус электр. разъема | 1 | Compressor Inlet | ||
| 8 | AN206290 | Жгут проводов | 1 | |||
| 9 | 57M7254 | Корпус электр. разъема | 2 | |||
| 10 | 57M8542 | Корпус электр. разъема | 1 | Actuator | ||
| key | PART NO. | PART NAME | QTY | SERIAL NO. | REMARKS | |
| 11 | 57M8635 | Корпус электр. разъема | 1 | Speed Sensor | ||
| 12 | 57M9781 | Корпус электр. разъема | 1 | Map Sensor | ||
| 13 | 57M9727 | Корпус электр. разъема | 3 | Fresh Air | ||
| 14 | 57M9728 | Корпус электр. разъема | 1 | Exhaust | ||
| 15 | 57M9780 | Корпус электр. разъема | 1 | Fuel Pressure | ||
| 16 | 57M8161 | Корпус электр. разъема | 1 | Fuel Lift Pump | ||
| 17 | 57M9750 | Корпус электр. разъема | 1 | Valve | ||
| 18 | 57M7547 | Клемма электр. разъема | 3 | Start Relay Power | ||
| 19 | 57M8868 | Клемма электр. разъема | 2 | Ground | ||
| 20 | ...... | Клемма электр. разъема | 1 | Start Relay Power | ||
| key | PART NO. | PART NAME | QTY | SERIAL NO. | REMARKS | |
| 21 | 57M12328 | Клемма электр. разъема | 2 | Ground | ||
| 22 | 57M11403 | Корпус электр. разъема | 1 | Auxiliary Power Connection | ||
| 23 | 57M9729 | Корпус электр. разъема | 2 | CAM Sensor | ||
| 24 | 57M8400 | Узел электрич. разъема | 1 | Fuel | ||
| 25 | 57M8403 | Корпус электр. разъема | 1 | SCV | ||
| 26 | 57M8407 | Корпус электр. разъема | 1 | Rail Pressure | ||
| 27 | 57M9782 | Корпус электр. разъема | 1 | Oil Pressure | ||
| 28 | R528122 | Вспом. электр. разъем | 2 | |||
| 29 | RE538504 | Вспом. электр. разъем | 1 | ECU J2 | ||
| 30 | RE543731 | Вспом. электр. разъем | 1 | ECU J1 | ||
| key | PART NO. | PART NAME | QTY | SERIAL NO. | REMARKS | |
| 31 | 57M9314 | Коленчатый патрубок | 1 | |||
| 32 | 57M8873 | Клемма электр. разъема | 1 | Alternator | ||
| 33 | 57M9287 | Тройник | 2 | |||
| 34 | 57M9265 | Тройник | 2 | |||
| 35 | 57M9266 | Тройник | 1 | |||
| 36 | 57M9323 | Тройник | 2 | |||
| 37 | 57M9263 | Тройник | 1 | |||
| 38 | 57M9325 | Гильза | 1 | |||
| 39 | 57M9252 | Тройник | 1 | |||
| 40 | 57M9253 | Тройник | 1 | |||
| key | PART NO. | PART NAME | QTY | SERIAL NO. | REMARKS | |
| 41 | 57M9264 | Тройник | 1 | |||
| 42 | 57M9277 | Тройник | 1 | |||
| 43 | 57M9283 | Тройник | 2 | |||
| 44 | 57M9288 | Тройник | 5 |
| key | PART NO. | PART NAME | QTY | SERIAL NO. | REMARKS | |
|---|---|---|---|---|---|---|
| 1 | AN402900 | Жгут проводов | 1 | |||
| 2 | R77476 | Узел электрич. разъема | 1 | Front Washer | ||
| 3 | RE12363 | Клемма электр. разъема | 1 | LH Warning Light | ||
| 4 | ...... | Муфта | 3 | Power Post, Grounds | ||
| 5 | ...... | Муфта | 1 | BHC | ||
| 6 | ...... | Муфта | 1 | Cab/Wheel Speed | ||
| 7 | 57M8487 | Колпачок электр. разъема | 1 | Fuel Pump | ||
| R104570 | Узел электрич. разъема | 1 | ||||
| 99M7065 | Плавкий предохранитель | 1 | 15A | |||
| 8 | 57M8487 | Муфта | 1 | Aux. Power | ||
| key | PART NO. | PART NAME | QTY | SERIAL NO. | REMARKS | |
| 57M7146 | Плавкий предохранитель | 1 | 30A | |||
| 57M8600 | Корпус электр. разъема | 1 | ||||
| 9 | 57M8487 | Колпачок электр. разъема | 1 | ECU | ||
| R104570 | Узел электрич. разъема | 1 | ||||
| 57M9124 | Плавкий предохранитель | 1 | 20A | |||
| 10 | ...... | Провод заземления | 1 | Fuse Power | ||
| 11 | 57M7227 | Корпус электр. разъема | 1 | Radar | ||
| 12 | 57M7535 | Клемма электр. разъема | 1 | Dust Cap - Radar | ||
| 57M8854 | Блок. устр. эл. разъема | 1 | ||||
| 13 | 57M9204 | Корпус электр. разъема | 1 | Hood Harness | ||
| key | PART NO. | PART NAME | QTY | SERIAL NO. | REMARKS | |
| 57M9194 | Блок. устр. эл. разъема | 1 | ||||
| 14 | 57M7538 | Корпус электр. разъема | 1 | Hood Harness | ||
| 57M7540 | Клемма электр. разъема | 1 | ||||
| 15 | RE12363 | Клемма электр. разъема | 1 | RH Warning Light | ||
| 16 | 57M8839 | Корпус электр. разъема | 1 | RH Platform Light | ||
| 57M8129 | Клемма электр. разъема | 1 | ||||
| 17 | RE12363 | Клемма электр. разъема | 1 | Right Front Shift | ||
| 18 | 57M8839 | Корпус электр. разъема | 1 | Right Front Steering Light | ||
| 57M8129 | Клемма электр. разъема | 1 | ||||
| 19 | T209627 | Скоба | AR | |||
| key | PART NO. | PART NAME | QTY | SERIAL NO. | REMARKS | |
| RE258807 | Обвязной хомут | AR | ||||
| 20 | 57M8526 | Корпус электр. разъема | 1 | Ecu J2 Connector | ||
| 57M8529 | Колпачок электр. разъема | 1 | ||||
| 21 | RE207311 | Электрон. блок управления | 1 | Can Terminator | ||
| 22 | 57M7260 | Корпус электр. разъема | 1 | |||
| 57M7291 | Узел электрич. разъема | 1 | ||||
| 57M8325 | Узел электрич. разъема | 1 | ||||
| 23 | 57M8839 | Корпус электр. разъема | 1 | Engine Harness Connector | ||
| 57M8129 | Клемма электр. разъема | 1 | ||||
| 24 | 57M7535 | Клемма электр. разъема | 1 | Traction Control | ||
| key | PART NO. | PART NAME | QTY | SERIAL NO. | REMARKS | |
| 57M8854 | Блок. устр. эл. разъема | 1 | ||||
| 57M7533 | Корпус электр. разъема | 1 | ||||
| R78069 | Пробка пол. эл. разъема | 1 | ||||
| 25 | RE12366 | Узел электрич. разъема | 1 | Wheel Speed Sensor - Left Front Shift | ||
| 26 | RE12363 | Клемма электр. разъема | 1 | Neutral Switch | ||
| 27 | 57M8839 | Корпус электр. разъема | 1 | Left Front Steering Light | ||
| 57M8129 | Клемма электр. разъема | 1 | ||||
| 28 | 57M8839 | Корпус электр. разъема | 1 | Lh Platform Work Light | ||
| 57M8129 | Клемма электр. разъема | 1 | ||||
| 29 | H77698 | Обвязной хомут | AR | |||
| key | PART NO. | PART NAME | QTY | SERIAL NO. | REMARKS | |
| 30 | AH80916 | Зажимная скоба | 1 | |||
| 31 | H75541 | Скоба | 1 | |||
| 32 | T26955 | Скоба | 1 | |||
| 33 | N191985 | Зажимная скоба | 1 | |||
| 34 | T26955 | Скоба | 1 | |||
| 35 | AH80916 | Зажимная скоба | 1 | |||
| 36 | T27550 | Зажимная скоба | 1 | |||
| 37 | R53410 | Зажимная скоба | AR | |||
| 38 | 19M7163 | Винт с головкой | 2 | M8 X 25 | ||
| 39 | 14M7298 | Фланцевая гайка | 3 | M8 | ||
| key | PART NO. | PART NAME | QTY | SERIAL NO. | REMARKS | |
| 40 | 19M7803 | Винт | AR | M8 X 70 | ||
| 41 | E63525 | Гайка | 4 | |||
| 42 | 24M7028 | Шайба | 2 | 10.500 X 20 X 2 mm | ||
| 43 | 19M7922 | Винт с головкой | 1 | M8 X 40 | ||
| 44 | 19M7550 | Винт с головкой | AR | M10 X 35 | ||
| 45 | 14M7296 | Фланцевая гайка | 1 | M10 | ||
| 46 | 24M7055 | Шайба | 1 | 8.400 X 16 X 1.600 mm | ||
| 47 | N306940 | Кронштейн | 1 |
| key | PART NO. | PART NAME | QTY | SERIAL NO. | REMARKS | |
|---|---|---|---|---|---|---|
| 1 | AN402900 | Жгут проводов | 1 | |||
| 2 | ...... | Муфта | 1 | Remote Pump Switch | ||
| 3 | T209627 | Скоба | AR | L.H. Boom Lower/Unfold | ||
| RE258807 | Обвязной хомут | AR | ||||
| 4 | ...... | Муфта | 3 | Negative Aux. Power Post | ||
| 5 | ...... | Муфта | 1 | Positive Aux. Power Post | ||
| 6 | 57M7813 | Корпус электр. разъема | 1 | Fuel Level Sender | ||
| 7 | 57M7850 | Корпус электр. разъема | 1 | Hyd. Oil Temp | ||
| 8 | 57M7306 | Блок. устр. эл. разъема | 1 | Ladder Valve | ||
| 57M7309 | Корпус электр. разъема | 1 | ||||
| key | PART NO. | PART NAME | QTY | SERIAL NO. | REMARKS | |
| 9 | 57M8590 | Корпус электр. разъема | 1 | To Cab Harness | ||
| 10 | 57M7306 | Блок. устр. эл. разъема | 1 | Rev Boost Valve | ||
| 57M7309 | Корпус электр. разъема | 1 | ||||
| 11 | 57M7260 | Корпус электр. разъема | 1 | Foamer | ||
| 57M7291 | Узел электрич. разъема | 1 | ||||
| 12 | RE12363 | Клемма электр. разъема | 1 | Left Rear Shift | ||
| 13 | 57M10245 | Корпус электр. разъема | 1 | Front Tread - LH Adjust IN, RH Adjust OUT | ||
| 14 | 57M7227 | Корпус электр. разъема | 1 | Rear Tread - RH Adjust IN, LH Adjust OUT | ||
| 15 | 57M7254 | Корпус электр. разъема | 1 | Proportional Valve | ||
| 57M7289 | Блок. устр. эл. разъема | 1 | ||||
| key | PART NO. | PART NAME | QTY | SERIAL NO. | REMARKS | |
| 16 | 57M8021 | Узел электрич. разъема | 1 | Load Sense Jam Valve | ||
| 57M8022 | Блок. устр. эл. разъема | 1 | ||||
| 17 | 57M7227 | Корпус электр. разъема | 1 | Rear Tread - RH Adjust OUT, LH Adjust IN | ||
| 18 | RE12365 | Узел электрич. разъема | 1 | Front Tread - LH Adjust IN, RH Adjust OUT | ||
| 19 | 57M10245 | Корпус электр. разъема | 1 | RH Tail Lights | ||
| 20 | 57M7257 | Корпус электр. разъема | 1 | Boom Height Position Sensor | ||
| 57M7290 | Узел электрич. разъема | 1 | ||||
| 57M7259 | Уплотнен. электр. разъема | 1 | ||||
| 21 | ...... | Муфта | 3 | |||
| 22 | 57M7856 | Узел электрич. разъема | 1 | To Boom Harness | ||
| key | PART NO. | PART NAME | QTY | SERIAL NO. | REMARKS | |
| 57M7861 | Узел электрич. разъема | 1 | ||||
| N275403 | Узел электрич. разъема | 1 | ||||
| 57M8650 | Уплотнен. электр. разъема | 1 | ||||
| 57M8651 | Вспом. электр. разъем | 1 | ||||
| 57M7257 | Корпус электр. разъема | 1 | Wheel Angle Sensor | |||
| 23 | 57M8526 | Корпус электр. разъема | 1 | BHC J2 | ||
| 57M8529 | Колпачок электр. разъема | 1 | ||||
| 24 | 57M7256 | Корпус электр. разъема | 1 | Backup Alarm | ||
| 57M7289 | Блок. устр. эл. разъема | 1 | ||||
| 57M8910 | Зажимная скоба | 1 | ||||
| key | PART NO. | PART NAME | QTY | SERIAL NO. | REMARKS | |
| 25 | RE207311 | Электрон. блок управления | 1 | CAN Terminator | ||
| 57M8325 | Узел электрич. разъема | 1 | ||||
| 26 | RE12364 | Узел электрич. разъема | 1 | LH Tail Light | ||
| 27 | RE12363 | Клемма электр. разъема | 1 | Right Rear Shift | ||
| 28 | 57M7306 | Блок. устр. эл. разъема | 1 | Park Brake | ||
| 57M7309 | Корпус электр. разъема | 1 | ||||
| 29 | 57M7344 | Корпус электр. разъема | 1 | Fill Station Light | ||
| 57M7371 | Узел электрич. разъема | 1 | ||||
| 30 | R78054 | Узел электрич. разъема | 1 | Agitation Valve | ||
| 31 | RE207311 | Электрон. блок управления | 1 | |||
| key | PART NO. | PART NAME | QTY | SERIAL NO. | REMARKS | |
| 32 | AN203173 | Переключатель | 1 | Remote Solution Pump Switch | ||
| 33 | 57M8617 | Корпус электр. разъема | 1 | |||
| 34 | 57M8796 | Корпус электр. разъема | 1 |
| key | PART NO. | PART NAME | QTY | SERIAL NO. | REMARKS | |
|---|---|---|---|---|---|---|
| 1 | AKK16756 | Жгут проводов | 1 | |||
| 2 | 57M8590 | Корпус электр. разъема | 1 | |||
| 3 | 57M8617 | Корпус электр. разъема | 1 | |||
| 4 | 57M8796 | Корпус электр. разъема | 1 | |||
| 5 | T209627 | Скоба | AR | |||
| RE258807 | Обвязной хомут | AR | ||||
| 6 | ...... | Скоба | 1 | |||
| 7 | 57M7309 | Корпус электр. разъема | 1 | Boost Valve | ||
| 57M7306 | Блок. устр. эл. разъема | 1 | ||||
| 8 | 57M7254 | Корпус электр. разъема | 1 | Proportional Valve | ||
| key | PART NO. | PART NAME | QTY | SERIAL NO. | REMARKS | |
| 9 | 57M7289 | Блок. устр. эл. разъема | 1 | |||
| 10 | 57M8021 | Узел электрич. разъема | 1 | Load Sense Jam Valve | ||
| 11 | 57M8022 | Блок. устр. эл. разъема | 1 | |||
| 12 | RE12363 | Клемма электр. разъема | 1 | Left Rear Shift | ||
| 13 | 57M7227 | Корпус электр. разъема | 1 | Rear Tread - RH Adjust IN, LH Adjust OUT | ||
| 14 | 57M10245 | Корпус электр. разъема | 1 | Front Tread - LH Adjust OUT, RH Adjust IN | ||
| 15 | 57M7227 | Корпус электр. разъема | 1 | Rear Tread - RH Adjust OUT, LH Adjust IN | ||
| 16 | RE12365 | Узел электрич. разъема | 1 | Front Tread - LH Adjust IN, RH Adjust OUT | ||
| 17 | 57M7257 | Корпус электр. разъема | 1 | Boom Height Position Sensor | ||
| 18 | 57M7255 | Корпус электр. разъема | 1 | |||
| key | PART NO. | PART NAME | QTY | SERIAL NO. | REMARKS | |
| 57M7290 | Узел электрич. разъема | 1 | ||||
| 57M7259 | Уплотнен. электр. разъема | 1 | ||||
| 19 | RE12364 | Узел электрич. разъема | 1 | RH Tail Light | ||
| 20 | ...... | Муфта | 3 | |||
| 21 | 57M7856 | Узел электрич. разъема | 1 | Boom Harness | ||
| 57M7861 | Узел электрич. разъема | 1 | ||||
| 22 | N275403 | Узел электрич. разъема | 1 | |||
| 57M8650 | Уплотнен. электр. разъема | 1 | ||||
| 57M8651 | Вспом. электр. разъем | 1 | ||||
| 23 | 57M7260 | Корпус электр. разъема | 1 | CAN Terminal | ||
| key | PART NO. | PART NAME | QTY | SERIAL NO. | REMARKS | |
| 57M7291 | Узел электрич. разъема | 1 | ||||
| 24 | RE207311 | Электрон. блок управления | 1 | |||
| 25 | 57M8325 | Узел электрич. разъема | 1 | |||
| 26 | RE12364 | Узел электрич. разъема | 1 | LH Tail Light | ||
| 27 | 57M7256 | Корпус электр. разъема | 1 | Backup Alarm | ||
| 28 | 57M8910 | Зажимная скоба | 1 | |||
| 29 | 57M10614 | Корпус электр. разъема | 1 | |||
| 30 | 57M10613 | Корпус электр. разъема | 1 | |||
| 31 | 57M10630 | Комплект скоб | 2 |
| key | PART NO. | PART NAME | QTY | SERIAL NO. | REMARKS | |
|---|---|---|---|---|---|---|
| 1 | AKK16756 | Жгут проводов | 1 | |||
| 2 | 57M7850 | Корпус электр. разъема | 1 | Hydraulic Oil Temperature | ||
| 3 | 57M7813 | Корпус электр. разъема | 1 | Fuel Level Sender | ||
| 4 | 57M7309 | Корпус электр. разъема | 1 | Ladder Valve | ||
| 57M7306 | Блок. устр. эл. разъема | 1 | ||||
| 5 | ...... | Муфта | 1 | Positive Auxillary Power Post | ||
| 6 | ...... | Муфта | 3 | Negative Auxillary Power Post | ||
| 7 | ...... | Муфта | 2 | Remote Pump | ||
| 8 | R78054 | Узел электрич. разъема | 1 | Agitation Valve | ||
| 9 | 57M7344 | Корпус электр. разъема | 1 | Fill Station Light | ||
| key | PART NO. | PART NAME | QTY | SERIAL NO. | REMARKS | |
| 10 | 57M7371 | Узел электрич. разъема | 1 | |||
| 11 | 57M7309 | Корпус электр. разъема | 1 | Park Brake | ||
| 57M7306 | Блок. устр. эл. разъема | 1 | ||||
| 12 | RE12363 | Клемма электр. разъема | 1 | Right Rear Shift | ||
| 13 | 57M8824 | Скоба | 1 | |||
| 14 | T209627 | Скоба | AR | |||
| RE258807 | Обвязной хомут | AR | ||||
| 15 | AN205833 | Клемма электр. разъема | 1 | Negative | ||
| 16 | AN205832 | Клемма электр. разъема | 1 | Positive | ||
| 17 | 19M10212 | Винт с головкой | 1 | M8 X 25 | ||
| key | PART NO. | PART NAME | QTY | SERIAL NO. | REMARKS | |
| 18 | 14M7722 | Стопорная гайка | 1 | M8 | ||
| 19 | 24M7522 | Шайба | 1 | 8.400 X 16 X 1.600 mm |
| key | PART NO. | PART NAME | QTY | SERIAL NO. | REMARKS | |
|---|---|---|---|---|---|---|
| 1 | AKK16756 | Жгут проводов | 1 | |||
| 2 | 57M10614 | Корпус электр. разъема | 1 | ECU Connector | ||
| 3 | 57M10613 | Корпус электр. разъема | 1 | |||
| 4 | T209627 | Скоба | AR | |||
| RE258807 | Обвязной хомут | AR | ||||
| 5 | 57M7260 | Корпус электр. разъема | 1 | CAN Terminator | ||
| 57M7291 | Узел электрич. разъема | 1 | ||||
| 6 | RE207311 | Электрон. блок управления | 1 | |||
| 7 | 57M8325 | Узел электрич. разъема | 1 | |||
| 8 | 57M7696 | Корпус электр. разъема | 1 | Engine Harness Connector | ||
| key | PART NO. | PART NAME | QTY | SERIAL NO. | REMARKS | |
| 9 | 57M7698 | Клемма электр. разъема | 1 | |||
| 10 | 57M8021 | Узел электрич. разъема | 1 | Traction Control | ||
| 11 | 57M8022 | Блок. устр. эл. разъема | 1 | |||
| 12 | 57M7533 | Корпус электр. разъема | 1 | |||
| R78069 | Пробка пол. эл. разъема | 1 | ||||
| 13 | RE12363 | Клемма электр. разъема | 1 | Neutral | ||
| 14 | RE12366 | Узел электрич. разъема | 1 | Wheel Speed Sensor Left Front Shift | ||
| 15 | 57M7257 | Корпус электр. разъема | 1 | Wheel Angle Sensor | ||
| 16 | 57M7290 | Узел электрич. разъема | 1 | |||
| 17 | 57M8839 | Корпус электр. разъема | 1 | Left Front Steering Light | ||
| key | PART NO. | PART NAME | QTY | SERIAL NO. | REMARKS | |
| 18 | 57M8129 | Клемма электр. разъема | 2 | |||
| 19 | 57M8839 | Корпус электр. разъема | 1 | LH Platform Work Light | ||
| 20 | RE12363 | Клемма электр. разъема | 1 | LH Warning Light | ||
| 21 | ...... | Муфта | 2 | PWR Post | ||
| 22 | ...... | Муфта | 3 | CAB / WHL Speed | ||
| 23 | ...... | Муфта | 3 | |||
| 24 | R104570 | Узел электрич. разъема | 1 | Fuel Pump | ||
| 25 | 57M8487 | Колпачок электр. разъема | 3 | |||
| 99M7065 | Плавкий предохранитель | 1 | Fuel Pump, 15A Fuse | |||
| 57M7146 | Плавкий предохранитель | 1 | Auxillary Power, 30 A Fuse | |||
| key | PART NO. | PART NAME | QTY | SERIAL NO. | REMARKS | |
| 57M9124 | Плавкий предохранитель | 1 | ECU, 20 A Fuse | |||
| 26 | 57M8600 | Узел электрич. разъема | 1 | Auxillary Power | ||
| 27 | R104570 | Узел электрич. разъема | 1 | ECU | ||
| 28 | ...... | Муфта | 1 | Fuse Power | ||
| 29 | 57M7227 | Корпус электр. разъема | 1 | Radar | ||
| 30 | 57M7535 | Клемма электр. разъема | 1 | Dust Cap Radar Connector | ||
| 31 | 57M8854 | Блок. устр. эл. разъема | 1 | |||
| R78064 | Пробка пол. эл. разъема | 1 | ||||
| 32 | 57M7469 | Узел электрич. разъема | 1 | |||
| 33 | 57M9204 | Корпус электр. разъема | 1 | Hood Harness | ||
| key | PART NO. | PART NAME | QTY | SERIAL NO. | REMARKS | |
| 57M9194 | Блок. устр. эл. разъема | 1 | ||||
| 34 | 57M7538 | Корпус электр. разъема | 1 | Hood Harness | ||
| 57M7540 | Клемма электр. разъема | 1 | ||||
| 35 | RE12363 | Клемма электр. разъема | 1 | RH Warning Light | ||
| 36 | 57M8839 | Корпус электр. разъема | 1 | RH Platform Work Light | ||
| 57M8129 | Клемма электр. разъема | 1 | ||||
| 37 | RE12363 | Клемма электр. разъема | 1 | Right Front Shift | ||
| 38 | 57M8839 | Корпус электр. разъема | 1 | Right Front Steering Light | ||
| 57M8129 | Клемма электр. разъема | 1 | ||||
| 39 | R77476 | Узел электрич. разъема | 1 | Front Washer | ||
| key | PART NO. | PART NAME | QTY | SERIAL NO. | REMARKS | |
| 40 | 57M7840 | Корпус электр. разъема | 1 | EH Valve | ||
| 41 | 57M8902 | Зажимная скоба | 1 | |||
| 42 | 19M7163 | Винт с головкой | 2 | M8 X 25 | ||
| 43 | 24M7055 | Шайба | 2 | 8.400 X 16 X 1.600 mm | ||
| 44 | 14M7298 | Фланцевая гайка | 2 | M8 |
| key | PART NO. | PART NAME | QTY | SERIAL NO. | REMARKS | |
|---|---|---|---|---|---|---|
| 1 | AKK18610 | Жгут проводов | 1 | |||
| 2 | 57M8590 | Корпус электр. разъема | 1 | |||
| 3 | 57M8617 | Корпус электр. разъема | 1 | |||
| 4 | 57M8796 | Корпус электр. разъема | 1 | |||
| 5 | T209627 | Скоба | AR | |||
| RE258807 | Обвязной хомут | AR | ||||
| 6 | 57M9429 | Скоба | 2 | |||
| 7 | 57M7309 | Корпус электр. разъема | 1 | Boost Valve | ||
| 57M7306 | Блок. устр. эл. разъема | 1 | ||||
| 8 | 57M7254 | Корпус электр. разъема | 1 | Proportional Valve | ||
| key | PART NO. | PART NAME | QTY | SERIAL NO. | REMARKS | |
| 9 | 57M7289 | Блок. устр. эл. разъема | 1 | |||
| 10 | 57M8021 | Узел электрич. разъема | 1 | Load Sense Jam Valve | ||
| 11 | 57M8022 | Блок. устр. эл. разъема | 1 | |||
| 12 | RE12363 | Клемма электр. разъема | 1 | Left Rear Shift | ||
| 13 | 57M7227 | Корпус электр. разъема | 1 | Rear Tread - RH Adjust IN, LH Adjust OUT | ||
| 14 | 57M10245 | Корпус электр. разъема | 1 | Front Tread - LH Adjust OUT, RH Adjust IN | ||
| 15 | 57M7227 | Корпус электр. разъема | 1 | Rear Tread - RH Adjust OUT, LH Adjust IN | ||
| 16 | RE12365 | Узел электрич. разъема | 1 | Front Tread - LH Adjust IN, RH Adjust OUT | ||
| 17 | 57M7257 | Корпус электр. разъема | 1 | Boom Height Position Sensor | ||
| 18 | 57M7255 | Корпус электр. разъема | 1 | |||
| key | PART NO. | PART NAME | QTY | SERIAL NO. | REMARKS | |
| 57M7290 | Узел электрич. разъема | 1 | ||||
| 57M7259 | Уплотнен. электр. разъема | 1 | ||||
| 19 | RE12364 | Узел электрич. разъема | 1 | RH Tail Light | ||
| 20 | 57M10280 | Клемма электр. разъема | 3 | |||
| 21 | 57M7856 | Узел электрич. разъема | 1 | Boom Harness | ||
| 57M7861 | Узел электрич. разъема | 1 | ||||
| 22 | N275403 | Узел электрич. разъема | 1 | |||
| 57M8650 | Уплотнен. электр. разъема | 1 | ||||
| 57M8651 | Вспом. электр. разъем | 1 | ||||
| 23 | 57M7260 | Корпус электр. разъема | 1 | CAN Terminal | ||
| key | PART NO. | PART NAME | QTY | SERIAL NO. | REMARKS | |
| 57M7291 | Узел электрич. разъема | 1 | ||||
| 24 | RE207311 | Электрон. блок управления | 1 | |||
| 25 | 57M8325 | Узел электрич. разъема | 1 | |||
| 26 | RE12364 | Узел электрич. разъема | 1 | LH Tail Light | ||
| 27 | 57M7256 | Корпус электр. разъема | 1 | Backup Alarm | ||
| 28 | 57M8910 | Зажимная скоба | 1 | |||
| 29 | 57M10614 | Корпус электр. разъема | 1 | |||
| 30 | 57M10613 | Корпус электр. разъема | 1 |
| key | PART NO. | PART NAME | QTY | SERIAL NO. | REMARKS | |
|---|---|---|---|---|---|---|
| 1 | AKK18610 | Жгут проводов | 1 | |||
| 2 | 57M7850 | Корпус электр. разъема | 1 | Hydraulic Oil Temperature | ||
| 3 | 57M7813 | Корпус электр. разъема | 1 | Fuel Level Sender | ||
| 4 | 57M7309 | Корпус электр. разъема | 1 | Ladder Valve | ||
| 57M7306 | Блок. устр. эл. разъема | 1 | ||||
| 5 | AN205832 | Клемма электр. разъема | 1 | Positive | ||
| 6 | 57M7895 | Клемма электр. разъема | 4 | Negative Auxillary Power Post | ||
| 7 | 57M8287 | Клемма электр. разъема | 2 | Remote Pump | ||
| 8 | R78054 | Узел электрич. разъема | 1 | Agitation Valve | ||
| 9 | 57M7344 | Корпус электр. разъема | 1 | Fill Station Light | ||
| key | PART NO. | PART NAME | QTY | SERIAL NO. | REMARKS | |
| 10 | 57M7371 | Узел электрич. разъема | 1 | |||
| 11 | 57M7309 | Корпус электр. разъема | 1 | Park Brake | ||
| 57M7306 | Блок. устр. эл. разъема | 1 | ||||
| 12 | RE12363 | Клемма электр. разъема | 1 | Right Rear Shift | ||
| 13 | 57M8824 | Скоба | 1 | |||
| 14 | T209627 | Скоба | AR | |||
| RE258807 | Обвязной хомут | AR | ||||
| 15 | AN205833 | Клемма электр. разъема | 1 | Negative |
| key | PART NO. | PART NAME | QTY | SERIAL NO. | REMARKS | |
|---|---|---|---|---|---|---|
| 1 | AKK18610 | Жгут проводов | 1 | |||
| 2 | RE538505 | Вспом. электр. разъем | 1 | ECU Connector | ||
| 3 | R528122 | Вспом. электр. разъем | 1 | |||
| 4 | T209627 | Скоба | AR | |||
| RE258807 | Обвязной хомут | AR | ||||
| 5 | 57M7260 | Корпус электр. разъема | 1 | CAN Terminator | ||
| 57M7291 | Узел электрич. разъема | 1 | ||||
| 6 | RE207311 | Электрон. блок управления | 1 | |||
| 7 | 57M8325 | Узел электрич. разъема | 1 | |||
| 8 | 57M7696 | Корпус электр. разъема | 1 | Engine Harness Connector | ||
| key | PART NO. | PART NAME | QTY | SERIAL NO. | REMARKS | |
| 9 | 57M7698 | Клемма электр. разъема | 1 | |||
| 10 | 57M8021 | Узел электрич. разъема | 1 | Traction Control | ||
| 11 | 57M8022 | Блок. устр. эл. разъема | 1 | |||
| 12 | 57M7533 | Корпус электр. разъема | 1 | |||
| R78069 | Пробка пол. эл. разъема | 1 | ||||
| 13 | RE12363 | Клемма электр. разъема | 1 | Neutral | ||
| 14 | RE12366 | Узел электрич. разъема | 1 | Wheel Speed Sensor Left Front Shift | ||
| 15 | 57M7257 | Корпус электр. разъема | 1 | Wheel Angle Sensor | ||
| 16 | 57M7290 | Узел электрич. разъема | 1 | |||
| 17 | 57M8839 | Корпус электр. разъема | 1 | Left Front Steering Light | ||
| key | PART NO. | PART NAME | QTY | SERIAL NO. | REMARKS | |
| 18 | 57M8129 | Клемма электр. разъема | 2 | |||
| 19 | 57M8839 | Корпус электр. разъема | 1 | LH Platform Work Light | ||
| 20 | RE12363 | Клемма электр. разъема | 1 | LH Warning Light | ||
| 21 | 57M10280 | Клемма электр. разъема | 9 | PWR Post | ||
| 22 | 19M7163 | Винт с головкой | 2 | M8 X 25 | ||
| 23 | 24M7055 | Шайба | 2 | 8.400 X 16 X 1.600 mm | ||
| 24 | R104570 | Узел электрич. разъема | 1 | Fuel Pump | ||
| 25 | 57M8487 | Колпачок электр. разъема | 3 | |||
| 99M7065 | Плавкий предохранитель | 1 | Fuel Pump, 15A Fuse | |||
| 57M7146 | Плавкий предохранитель | 1 | Auxillary Power, 30 A Fuse | |||
| key | PART NO. | PART NAME | QTY | SERIAL NO. | REMARKS | |
| 57M9124 | Плавкий предохранитель | 1 | ECU, 20 A Fuse | |||
| 26 | 57M8600 | Узел электрич. разъема | 1 | Auxillary Power | ||
| 27 | R104570 | Узел электрич. разъема | 1 | ECU | ||
| 28 | 14M7298 | Фланцевая гайка | 2 | M8 | ||
| 29 | 57M7227 | Корпус электр. разъема | 1 | Radar | ||
| 30 | 57M7535 | Клемма электр. разъема | 1 | Dust Cap Radar Connector | ||
| 31 | 57M8854 | Блок. устр. эл. разъема | 1 | |||
| R78064 | Пробка пол. эл. разъема | 1 | ||||
| 32 | 57M7469 | Узел электрич. разъема | 1 | |||
| 33 | 57M9204 | Корпус электр. разъема | 1 | Hood Harness | ||
| key | PART NO. | PART NAME | QTY | SERIAL NO. | REMARKS | |
| 57M9194 | Блок. устр. эл. разъема | 1 | ||||
| 34 | 57M7538 | Корпус электр. разъема | 1 | Hood Harness | ||
| 57M7540 | Клемма электр. разъема | 1 | ||||
| 35 | RE12363 | Клемма электр. разъема | 1 | RH Warning Light | ||
| 36 | 57M8839 | Корпус электр. разъема | 1 | RH Platform Work Light | ||
| 57M8129 | Клемма электр. разъема | 1 | ||||
| 37 | RE12363 | Клемма электр. разъема | 1 | Right Front Shift | ||
| 38 | 57M8839 | Корпус электр. разъема | 1 | Right Front Steering Light | ||
| 57M8129 | Клемма электр. разъема | 1 | ||||
| 39 | R77476 | Узел электрич. разъема | 1 | Front Washer | ||
| key | PART NO. | PART NAME | QTY | SERIAL NO. | REMARKS | |
| 40 | 57M7840 | Корпус электр. разъема | 1 | EH Valve | ||
| 41 | 57M8902 | Зажимная скоба | 1 |
| key | PART NO. | PART NAME | QTY | SERIAL NO. | REMARKS | |
|---|---|---|---|---|---|---|
| 1 | AH80916 | Зажимная скоба | 6 | |||
| 2 | H77698 | Обвязной хомут | 72 | |||
| 3 | N191985 | Зажимная скоба | 1 | |||
| 4 | N220757 | Уголок | 2 | |||
| 5 | N306940 | Кронштейн | 1 | |||
| 6 | T149597 | Скоба | 1 | |||
| 7 | T209627 | Скоба | 34 | |||
| 8 | 28H3381 | Распорная втулка | 1 | 0.493" X 0.675" X 5/8" | ||
| 9 | 28H3390 | Распорная втулка | 2 | 0.364" X 0.540" X 1" | ||
| 10 | 14M7649 | Фланцевая гайка | 9 | M8 | ||
| key | PART NO. | PART NAME | QTY | SERIAL NO. | REMARKS | |
| 11 | 24M7522 | Шайба | 7 | 8.400 X 16 X 1.600 mm | ||
| 12 | 19M9404 | Винт | 2 | M6 X 20 | ||
| 13 | 19M10212 | Винт с головкой | 5 | M8 X 25 | ||
| 14 | 14M7648 | Фланцевая гайка | 5 | M10 | ||
| 15 | 19M10057 | Винт | 4 | M8 X 70 | ||
| 16 | 19M10011 | Винт | 1 | M10 X 50 | ||
| 17 | 14M7722 | Стопорная гайка | 9 | M8 | ||
| 18 | 24M7606 | Шайба | 7 | 10.500 X 20 X 2 mm | ||
| 19 | 14M7721 | Стопорная гайка | 2 | M6 | ||
| 20 | 19M10310 | Винт с головкой | 3 | M10 X 35 | ||
| key | PART NO. | PART NAME | QTY | SERIAL NO. | REMARKS | |
| 21 | 19M7163 | Винт с головкой | 1 | M8 X 25 | ||
| 22 | 24M7055 | Шайба | 1 | 8.400 X 16 X 1.600 mm | ||
| 23 | 14M7298 | Фланцевая гайка | 1 | M8 | ||
| 24 | 19M9836 | Винт | 1 | M8 X 20 | ||
| 25 | T27550 | Зажимная скоба | 1 | |||
| 26 | T26955 | Скоба | 2 | |||
| 27 | AH89557 | Зажимная скоба | 2 | |||
| 28 | T38377 | Скоба | 2 | |||
| 29 | R46667 | Скоба | 1 |
| key | PART NO. | PART NAME | QTY | SERIAL NO. | REMARKS | |
|---|---|---|---|---|---|---|
| 1 | 57M8839 | Корпус электр. разъема | 1 | Left Side Roof FLOOD (2) | ||
| 57M8129 | Клемма электр. разъема | 1 | ||||
| 2 | 57M8839 | Корпус электр. разъема | 1 | Left Side Roof FLOOD (1) | ||
| 57M8129 | Клемма электр. разъема | 1 | ||||
| 3 | R104927 | Узел электрич. разъема | 1 | Left Rear Speaker | ||
| 4 | 57M8924 | Корпус электр. разъема | 1 | Outside Temp | ||
| 5 | 57M7256 | Корпус электр. разъема | 1 | Left Entry Light | ||
| 57M7289 | Блок. устр. эл. разъема | 1 | ||||
| 6 | R104927 | Узел электрич. разъема | 1 | Right Rear Speaker | ||
| 7 | R104927 | Узел электрич. разъема | 1 | Right Front Speaker | ||
| key | PART NO. | PART NAME | QTY | SERIAL NO. | REMARKS | |
| 8 | R104927 | Узел электрич. разъема | 1 | Left Front Speaker | ||
| 9 | 57M7294 | Корпус электр. разъема | 1 | Unswitched Power | ||
| 57M7295 | Блок. устр. эл. разъема | 1 | ||||
| 10 | 57M7260 | Корпус электр. разъема | 1 | CAN 2 Terminating Device | ||
| 57M7291 | Узел электрич. разъема | 1 | ||||
| 11 | RE207311 | Электрон. блок управления | 1 | CAN Terminating Device | ||
| 12 | 57M7682 | Блок. устр. эл. разъема | 1 | GPS Receiver | ||
| 13 | 57M8008 | Узел электрич. разъема | 1 | |||
| 57M8009 | Блок. устр. эл. разъема | 1 | ||||
| 14 | ...... | Провод заземления | 1 | Mounting Lug | ||
| key | PART NO. | PART NAME | QTY | SERIAL NO. | REMARKS | |
| 15 | 57M7247 | Корпус электр. разъема | 1 | Front Wiper Motor | ||
| 57M7318 | Вспом. электр. разъем | 1 | ||||
| 16 | ...... | Провод заземления | 1 | Wiper Ground Mount | ||
| 17 | 57M8839 | Корпус электр. разъема | 1 | Right Side Roof FLOOD 1 | ||
| 57M8129 | Клемма электр. разъема | 1 | ||||
| 18 | 57M8839 | Корпус электр. разъема | 1 | Right Side Roof FLOOD 2 | ||
| 57M8129 | Клемма электр. разъема | 1 | ||||
| 19 | R227013 | Уплотнение | 1 | |||
| 20 | ...... | Провод заземления | 1 | Diode | ||
| 21 | 57M7263 | Корпус электр. разъема | 1 | Cab Interconnect | ||
| key | PART NO. | PART NAME | QTY | SERIAL NO. | REMARKS | |
| 57M7291 | Узел электрич. разъема | 1 | ||||
| 22 | 57M8943 | Блок. устр. эл. разъема | 1 | Cab Interconnect | ||
| 57M8076 | Клемма электр. разъема | 1 | ||||
| 23 | 57M7293 | Корпус электр. разъема | 1 | Dust Cap | ||
| 57M7295 | Блок. устр. эл. разъема | 1 | ||||
| 24 | AN303024 | Жгут проводов | 1 | ORDER RE319440 | ||
| 25 | 37M7352 | Винт | 4 |
| key | PART NO. | PART NAME | QTY | SERIAL NO. | REMARKS | |
|---|---|---|---|---|---|---|
| 1 | 57M8839 | Корпус электр. разъема | 1 | LH Roof Flood 1 | ||
| 57M8129 | Клемма электр. разъема | 1 | ||||
| 2 | 57M8839 | Корпус электр. разъема | 2 | LH Roof Flood 2 | ||
| 57M8129 | Клемма электр. разъема | 2 | ||||
| 3 | R104927 | Узел электрич. разъема | 1 | LH Rear Speaker | ||
| 4 | 57M 8924 | Корпус электр. разъема | 1 | Outside TEMP | ||
| ...... | Корпус электр. разъема | 1 | ||||
| 5 | 57M7256 | Корпус электр. разъема | 2 | Left Entry Light | ||
| 57M7289 | Блок. устр. эл. разъема | 2 | ||||
| 6 | 57M8944 | Корпус электр. разъема | 1 | Cab Interconnect | ||
| key | PART NO. | PART NAME | QTY | SERIAL NO. | REMARKS | |
| 57M8943 | Блок. устр. эл. разъема | 1 | ||||
| 7 | 57M7263 | Корпус электр. разъема | 2 | Cab Interconnect | ||
| 57M7291 | Узел электрич. разъема | 2 | ||||
| 8 | 57M8839 | Корпус электр. разъема | 1 | RH Roof Flood 2 | ||
| 57M8129 | Клемма электр. разъема | 1 | ||||
| 9 | 57M8839 | Корпус электр. разъема | 1 | RH Roof Flood 1 | ||
| 57M8129 | Клемма электр. разъема | 1 | ||||
| 10 | R104927 | Узел электрич. разъема | 1 | Right Rear Speaker | ||
| 11 | R104927 | Узел электрич. разъема | 1 | Right Front Speaker | ||
| 12 | ...... | Провод заземления | 1 | Wiper Ground Mount | ||
| key | PART NO. | PART NAME | QTY | SERIAL NO. | REMARKS | |
| 13 | 57M8416 | Корпус электр. разъема | 2 | Front Wiper Motor; SUB FOR 57M7247 | ||
| 14 | 57M8008 | Узел электрич. разъема | 7 | |||
| 15 | 57M9228 | Корпус электр. разъема | 6 | GPS Reciever | ||
| 57M7682 | Блок. устр. эл. разъема | 6 | ||||
| 16 | RE207311 | Электрон. блок управления | 1 | |||
| 17 | 57M7260 | Корпус электр. разъема | 2 | CAN 2 Terminating Device | ||
| 57M7291 | Узел электрич. разъема | 1 | ||||
| 18 | 57M7293 | Корпус электр. разъема | 1 | |||
| 57M7295 | Блок. устр. эл. разъема | 1 | ||||
| 19 | 57M7294 | Корпус электр. разъема | 1 | Unswitched Power | ||
| key | PART NO. | PART NAME | QTY | SERIAL NO. | REMARKS | |
| 20 | ...... | Провод заземления | 2 | CAB Becaon Light | ||
| 21 | R104927 | Узел электрич. разъема | 1 | Left Front Speaker | ||
| 22 | ...... | Провод заземления | 1 | Mounting Plug | ||
| 23 | R227013 | Уплотнение | 1 | |||
| 24 | 37M7059 | Винт | 1 | M5 X 12 | ||
| 25 | 37M7218 | Винт | 4 | |||
| 26 | RE319440 | Жгут проводов крыши | 1 | SUB FOR AN303024 |
| key | PART NO. | PART NAME | QTY | SERIAL NO. | REMARKS | |
|---|---|---|---|---|---|---|
| 1 | RE325320 | Жгут проводов кабины | 1 | |||
| 2 | R250370 | Корпус электр. разъема | 1 | Key SW | ||
| 3 | ...... | Узел электрич. разъема | 1 | Brake SW | ||
| 4 | ...... | Узел электрич. разъема | 1 | SID2 | ||
| 5 | ...... | Узел электрич. разъема | 1 | SID1 | ||
| 6 | 57M7717 | Узел электрич. разъема | 1 | Steering Column Module | ||
| 57M7722 | Узел электрич. разъема | 1 | ||||
| 7 | 57M7328 | Корпус электр. разъема | 1 | Boom SW | ||
| 57M7289 | Блок. устр. эл. разъема | 1 | ||||
| 8 | RE153894 | Диод | 1 | |||
| key | PART NO. | PART NAME | QTY | SERIAL NO. | REMARKS | |
| 57M9240 | Реле | 1 | ||||
| 9 | RE186986 | Контактный блок | 1 | |||
| 10 | 57M7254 | Корпус электр. разъема | 1 | CAB Pressuriser Blower | ||
| 57M7289 | Блок. устр. эл. разъема | 1 | ||||
| 11 | 57M7260 | Корпус электр. разъема | 1 | CAN 2 Passive Terminator | ||
| 57M7291 | Узел электрич. разъема | 1 | ||||
| 12 | 57M7696 | Корпус электр. разъема | 1 | |||
| 57M7698 | Клемма электр. разъема | 1 | ||||
| 13 | ...... | Узел электрич. разъема | 1 | J1 - Black | ||
| 14 | ...... | Узел электрич. разъема | 1 | J2 - Brown | ||
| key | PART NO. | PART NAME | QTY | SERIAL NO. | REMARKS | |
| 15 | ...... | Узел электрич. разъема | 1 | J2 - Grey | ||
| 16 | ...... | Провод заземления | 1 | CAB Ground | ||
| 17 | 57M8591 | Корпус электр. разъема | 1 | |||
| 18 | 57M8616 | Корпус электр. разъема | 1 | |||
| 19 | 57M8791 | Корпус электр. разъема | 1 | |||
| 20 | R208235 | Кронштейн | 1 | |||
| 21 | ...... | Коробка плавких предохр. | 1 | |||
| 57M8743 | Плавкий предохранитель | 1 | 3A | |||
| 57M7688 | Плавкий предохранитель | 1 | 5A | |||
| 57M7689 | Плавкий предохранитель | 1 | 10A | |||
| key | PART NO. | PART NAME | QTY | SERIAL NO. | REMARKS | |
| 57M7690 | Плавкий предохранитель | 1 | 15A | |||
| 57M7691 | Плавкий предохранитель | 1 | 20A | |||
| 57M8623 | Плавкий предохранитель | 1 | 25A | |||
| 57M8163 | Плавкий предохранитель | 1 | 30A | |||
| 22 | RE186986 | Контактный блок | 1 | |||
| 23 | 57M7263 | Корпус электр. разъема | 1 | Seat | ||
| 57M7291 | Узел электрич. разъема | 1 | ||||
| 24 | R77457 | Клемма электр. разъема | 1 | Armrest Connector | ||
| 25 | 57M7279 | Корпус электр. разъема | 1 | CCU Driver | ||
| 26 | 57M7253 | Корпус электр. разъема | 1 | CCU Driver | ||
| key | PART NO. | PART NAME | QTY | SERIAL NO. | REMARKS | |
| 27 | 57M7275 | Корпус электр. разъема | 1 | CCU Logic | ||
| 28 | 57M7276 | Корпус электр. разъема | 1 | CCU Logic |
| key | PART NO. | PART NAME | QTY | SERIAL NO. | REMARKS | |
|---|---|---|---|---|---|---|
| 1 | RE325320 | Жгут проводов кабины | 1 | |||
| 29 | ...... | Узел электрич. разъема | 1 | Reconfigarable Display | ||
| 30 | ...... | Провод заземления | 2 | |||
| 31 | ...... | Узел электрич. разъема | 1 | E-Brake | ||
| 32 | ...... | Узел электрич. разъема | 1 | Radio | ||
| 33 | ...... | Узел электрич. разъема | 1 | Outer Roof Harness | ||
| 34 | 57M7260 | Корпус электр. разъема | 1 | Outer Roof CAN Harness | ||
| 35 | ...... | Узел электрич. разъема | 2 | Business Band Radio | ||
| 36 | ...... | Узел электрич. разъема | 1 | RHC Roof Lamp | ||
| 37 | 57M7254 | Корпус электр. разъема | 1 | Left Entry Light | ||
| key | PART NO. | PART NAME | QTY | SERIAL NO. | REMARKS | |
| 38 | ...... | Узел электрич. разъема | 1 | Left Entry Light Switch | ||
| 39 | ...... | Провод заземления | 1 | LH Door Switch | ||
| 40 | ...... | Узел электрич. разъема | 1 | Diagnostics (Service Advisor) | ||
| 41 | R78054 | Узел электрич. разъема | 1 | |||
| 42 | ...... | Узел электрич. разъема | 1 | Switch Panel | ||
| 43 | ...... | Узел электрич. разъема | 1 | Switch Panel | ||
| 44 | ...... | Узел электрич. разъема | 1 | Rate Select | ||
| 45 | ...... | Узел электрич. разъема | 1 | Diff. Lock | ||
| 46 | RE46735 | Узел электрич. разъема | 1 | Front Wiper Switch | ||
| 47 | ...... | Узел электрич. разъема | 1 | Road Lights | ||
| key | PART NO. | PART NAME | QTY | SERIAL NO. | REMARKS | |
| 48 | ...... | Узел электрич. разъема | 2 | Warning Switch | ||
| 49 | ...... | Узел электрич. разъема | 1 | Cigar Lighter | ||
| 50 | ...... | Узел электрич. разъема | 1 | Dual Drop Foamer Ground |
| key | PART NO. | PART NAME | QTY | SERIAL NO. | REMARKS | |
|---|---|---|---|---|---|---|
| 1 | RE575404 | Жгут проводов кабины | 1 | |||
| 2 | R250370 | Корпус электр. разъема | 1 | Key SW | ||
| 3 | 57M7472 | Узел электрич. разъема | 1 | Переключатель тормоза | ||
| 4 | 57M7933 | Узел электрич. разъема | 1 | SID2 | ||
| 5 | 57M7933 | Узел электрич. разъема | 1 | SID1 | ||
| 6 | 57M7717 | Узел электрич. разъема | 1 | Steering Column Module | ||
| 57M7722 | Узел электрич. разъема | 1 | ||||
| 7 | 57M7328 | Корпус электр. разъема | 1 | Boom SW | ||
| 57M7289 | Блок. устр. эл. разъема | 1 | ||||
| 8 | 57M9240 | Реле | 1 | |||
| key | PART NO. | PART NAME | QTY | SERIAL NO. | REMARKS | |
| 9 | RE186986 | Контактный блок | 1 | |||
| 10 | 57M7254 | Корпус электр. разъема | 1 | CAB Pressuriser Blower | ||
| 57M7289 | Блок. устр. эл. разъема | 1 | ||||
| 11 | 57M7260 | Корпус электр. разъема | 1 | CAN 2 Passive Terminator | ||
| 57M7291 | Узел электрич. разъема | 1 | ||||
| 12 | 57M7696 | Корпус электр. разъема | 1 | |||
| 57M7698 | Клемма электр. разъема | 1 | ||||
| 13 | 57M10605 | Корпус электр. разъема | 1 | J1 - Black | ||
| 57M10604 | Корпус электр. разъема | 1 | J1 - Black | |||
| 14 | 57M10614 | Корпус электр. разъема | 1 | J2 - Brown | ||
| key | PART NO. | PART NAME | QTY | SERIAL NO. | REMARKS | |
| 57M10613 | Корпус электр. разъема | 1 | J2 - Brown | |||
| 15 | 57M10611 | Корпус электр. разъема | 1 | J2 - Grey | ||
| 57M10604 | Корпус электр. разъема | 1 | J2 - Grey | |||
| 16 | ...... | Провод заземления | 1 | CAB Ground | ||
| 17 | 57M8591 | Корпус электр. разъема | 1 | |||
| 18 | 57M8616 | Корпус электр. разъема | 1 | |||
| 19 | 57M8791 | Корпус электр. разъема | 1 | |||
| 20 | R208235 | Кронштейн | 1 | |||
| 21 | ...... | Коробка плавких предохр. | 1 | |||
| 57M8743 | Плавкий предохранитель | 1 | 3A | |||
| key | PART NO. | PART NAME | QTY | SERIAL NO. | REMARKS | |
| 57M7688 | Плавкий предохранитель | 1 | 5A | |||
| 57M7689 | Плавкий предохранитель | 1 | 10A | |||
| 57M7690 | Плавкий предохранитель | 1 | 15A | |||
| 57M7691 | Плавкий предохранитель | 1 | 20A | |||
| 57M8623 | Плавкий предохранитель | 1 | 25A | |||
| 57M8163 | Плавкий предохранитель | 1 | 30A | |||
| 22 | RE186986 | Контактный блок | 1 | |||
| 23 | 57M7263 | Корпус электр. разъема | 1 | Seat | ||
| 57M7291 | Узел электрич. разъема | 1 | ||||
| 24 | R77457 | Клемма электр. разъема | 1 | Armrest Connector | ||
| key | PART NO. | PART NAME | QTY | SERIAL NO. | REMARKS | |
| 25 | 57M7279 | Корпус электр. разъема | 1 | CCU Driver | ||
| 26 | 57M9168 | Корпус электр. разъема | 1 | CCU Driver | ||
| 27 | 57M7275 | Корпус электр. разъема | 1 | CCU Logic | ||
| 28 | 57M7276 | Корпус электр. разъема | 1 | CCU Logic | ||
| 29 | 57M7262 | Корпус электр. разъема | 1 | MTG | ||
| 57M7281 | Блок. устр. эл. разъема | 1 | ||||
| 57M7265 | Корпус электр. разъема | 1 | ||||
| 57M7259 | Уплотнен. электр. разъема | 1 |
| key | PART NO. | PART NAME | QTY | SERIAL NO. | REMARKS | |
|---|---|---|---|---|---|---|
| 1 | RE575404 | Жгут проводов кабины | 1 | |||
| 2 | ...... | Провод заземления | 2 | |||
| 3 | 57M7896 | Узел электрич. разъема | 1 | E-Brake | ||
| 4 | 57M8781 | Корпус электр. разъема | 1 | Radio | ||
| 5 | 57M8070 | Корпус электр. разъема | 1 | Outer Roof Harness | ||
| 57M8943 | Блок. устр. эл. разъема | 1 | Outer Roof Harness | |||
| 57M8076 | Клемма электр. разъема | 1 | Outer Roof Harness | |||
| 6 | 57M7260 | Корпус электр. разъема | 1 | Outer Roof CAN Harness | ||
| 57M7291 | Узел электрич. разъема | 1 | Outer Roof CAN Harness | |||
| 7 | ...... | Узел электрич. разъема | 2 | Business Band Radio | ||
| key | PART NO. | PART NAME | QTY | SERIAL NO. | REMARKS | |
| 8 | ...... | Узел электрич. разъема | 1 | RHC Roof Lamp | ||
| 9 | 57M7254 | Корпус электр. разъема | 1 | Left Entry Light | ||
| 57M7289 | Блок. устр. эл. разъема | 1 | Left Entry Light | |||
| 10 | 57M8033 | Корпус электр. разъема | 1 | Left Entry Light Switch | ||
| 11 | ...... | Провод заземления | 1 | LH Door Switch | ||
| 12 | 57M9183 | Корпус электр. разъема | 1 | Diagnostics (Service Advisor) | ||
| 57M9181 | Уплотн. каб. эл. разъема | 1 | Diagnostics (Service Advisor) | |||
| 57M9182 | Гайка | 1 | Diagnostics (Service Advisor) | |||
| 13 | R78054 | Узел электрич. разъема | 1 | |||
| 14 | 57M7795 | Корпус электр. разъема | 1 | Switch Panel | ||
| key | PART NO. | PART NAME | QTY | SERIAL NO. | REMARKS | |
| 57M7734 | Узел электрич. разъема | 1 | Switch Panel | |||
| 15 | 57M7794 | Узел электрич. разъема | 1 | Switch Panel | ||
| 57M7733 | Узел электрич. разъема | 1 | Switch Panel | |||
| 16 | 57M7263 | Корпус электр. разъема | 1 | Rate Select | ||
| 57M7291 | Узел электрич. разъема | 1 | Rate Select | |||
| 17 | 57M7896 | Узел электрич. разъема | 1 | Diff. Lock | ||
| 18 | RE46735 | Узел электрич. разъема | 1 | Front Wiper Switch | ||
| 19 | 57M7624 | Узел электрич. разъема | 1 | Road Lights | ||
| 20 | 57M8815 | Корпус электр. разъема | 2 | Warning Switch | ||
| 21 | ...... | Узел электрич. разъема | 1 | Cigar Lighter | ||
| key | PART NO. | PART NAME | QTY | SERIAL NO. | REMARKS | |
| 22 | 57M9231 | Корпус электр. разъема | 1 | Reconfigarable Display |
| key | PART NO. | PART NAME | QTY | SERIAL NO. | REMARKS | |
|---|---|---|---|---|---|---|
| 1 | RE586586 | Жгут проводов кабины | 1 | |||
| 2 | R250370 | Корпус электр. разъема | 1 | Key SW | ||
| 3 | 57M7472 | Узел электрич. разъема | 1 | Переключатель тормоза | ||
| 4 | 57M7933 | Узел электрич. разъема | 1 | SID2 | ||
| 5 | 57M7933 | Узел электрич. разъема | 1 | SID1 | ||
| 6 | 57M7717 | Узел электрич. разъема | 1 | Steering Column Module | ||
| 57M7722 | Узел электрич. разъема | 1 | ||||
| 7 | 57M7328 | Корпус электр. разъема | 1 | Boom SW | ||
| 57M7289 | Блок. устр. эл. разъема | 1 | ||||
| 8 | 57M9240 | Реле | 1 | |||
| key | PART NO. | PART NAME | QTY | SERIAL NO. | REMARKS | |
| 9 | RE186986 | Контактный блок | 1 | |||
| 10 | 57M7254 | Корпус электр. разъема | 1 | CAB Pressuriser Blower | ||
| 57M7289 | Блок. устр. эл. разъема | 1 | ||||
| 11 | 57M7260 | Корпус электр. разъема | 1 | CAN 2 Passive Terminator | ||
| 57M7291 | Узел электрич. разъема | 1 | ||||
| 12 | 57M7696 | Корпус электр. разъема | 1 | |||
| 57M7698 | Клемма электр. разъема | 1 | ||||
| 13 | 57M10605 | Корпус электр. разъема | 1 | J1 - Black | ||
| 57M10604 | Корпус электр. разъема | 1 | J1 - Black | |||
| 14 | 57M10614 | Корпус электр. разъема | 1 | J2 - Brown | ||
| key | PART NO. | PART NAME | QTY | SERIAL NO. | REMARKS | |
| 57M10613 | Корпус электр. разъема | 1 | J2 - Brown | |||
| 15 | 57M10611 | Корпус электр. разъема | 1 | J2 - Grey | ||
| 57M10604 | Корпус электр. разъема | 1 | J2 - Grey | |||
| 16 | ...... | Провод заземления | 1 | CAB Ground | ||
| 17 | 57M8591 | Корпус электр. разъема | 1 | |||
| 18 | 57M8616 | Корпус электр. разъема | 1 | |||
| 19 | 57M8791 | Корпус электр. разъема | 1 | |||
| 20 | R208235 | Кронштейн | 1 | |||
| 21 | ...... | Коробка плавких предохр. | 1 | |||
| 57M8743 | Плавкий предохранитель | 1 | 3A | |||
| key | PART NO. | PART NAME | QTY | SERIAL NO. | REMARKS | |
| 57M7688 | Плавкий предохранитель | 1 | 5A | |||
| 57M7689 | Плавкий предохранитель | 1 | 10A | |||
| 57M7690 | Плавкий предохранитель | 1 | 15A | |||
| 57M7691 | Плавкий предохранитель | 1 | 20A | |||
| 57M8623 | Плавкий предохранитель | 1 | 25A | |||
| 57M8163 | Плавкий предохранитель | 1 | 30A | |||
| 22 | RE186986 | Контактный блок | 1 | |||
| 23 | 57M7263 | Корпус электр. разъема | 1 | Seat | ||
| 57M7291 | Узел электрич. разъема | 1 | ||||
| 24 | R77457 | Клемма электр. разъема | 1 | Armrest Connector | ||
| key | PART NO. | PART NAME | QTY | SERIAL NO. | REMARKS | |
| 25 | 57M7279 | Корпус электр. разъема | 1 | CCU Driver | ||
| 26 | 57M9168 | Корпус электр. разъема | 1 | CCU Driver | ||
| 27 | 57M7275 | Корпус электр. разъема | 1 | CCU Logic | ||
| 28 | 57M7276 | Корпус электр. разъема | 1 | CCU Logic | ||
| 29 | 57M7262 | Корпус электр. разъема | 1 | MTG | ||
| 57M7281 | Блок. устр. эл. разъема | 1 | ||||
| 57M7265 | Корпус электр. разъема | 1 | ||||
| 57M7259 | Уплотнен. электр. разъема | 1 | ||||
| 30 | 57M8786 | Корпус электр. разъема | 1 | Разъем 1 Auteq | ||
| 57M7682 | Блок. устр. эл. разъема | 1 | Разъем 1 Auteq | |||
| key | PART NO. | PART NAME | QTY | SERIAL NO. | REMARKS | |
| 31 | 57M8008 | Узел электрич. разъема | 1 | Разъем 2 Auteq | ||
| 57M8009 | Блок. устр. эл. разъема | 1 | Разъем 2 Auteq |
| key | PART NO. | PART NAME | QTY | SERIAL NO. | REMARKS | |
|---|---|---|---|---|---|---|
| 1 | RE586586 | Жгут проводов кабины | 1 | |||
| 2 | ...... | Провод заземления | 2 | |||
| 3 | 57M7896 | Узел электрич. разъема | 1 | E-Brake | ||
| 4 | 57M8781 | Корпус электр. разъема | 1 | Radio | ||
| 5 | 57M8070 | Корпус электр. разъема | 1 | Outer Roof Harness | ||
| 57M8943 | Блок. устр. эл. разъема | 1 | Outer Roof Harness | |||
| 57M8076 | Клемма электр. разъема | 1 | Outer Roof Harness | |||
| 6 | 57M7260 | Корпус электр. разъема | 1 | Outer Roof CAN Harness | ||
| 57M7291 | Узел электрич. разъема | 1 | Outer Roof CAN Harness | |||
| 7 | ...... | Узел электрич. разъема | 2 | Business Band Radio | ||
| key | PART NO. | PART NAME | QTY | SERIAL NO. | REMARKS | |
| 8 | ...... | Узел электрич. разъема | 1 | RHC Roof Lamp | ||
| 9 | 57M7254 | Корпус электр. разъема | 1 | Left Entry Light | ||
| 57M7289 | Блок. устр. эл. разъема | 1 | Left Entry Light | |||
| 10 | 57M8033 | Корпус электр. разъема | 1 | Left Entry Light Switch | ||
| 11 | ...... | Провод заземления | 1 | LH Door Switch | ||
| 12 | 57M9183 | Корпус электр. разъема | 1 | Diagnostics (Service Advisor) | ||
| 57M9181 | Уплотн. каб. эл. разъема | 1 | Diagnostics (Service Advisor) | |||
| 57M9182 | Гайка | 1 | Diagnostics (Service Advisor) | |||
| 13 | R78054 | Узел электрич. разъема | 1 | |||
| 14 | 57M7795 | Корпус электр. разъема | 1 | Switch Panel | ||
| key | PART NO. | PART NAME | QTY | SERIAL NO. | REMARKS | |
| 57M7734 | Узел электрич. разъема | 1 | Switch Panel | |||
| 15 | 57M7794 | Узел электрич. разъема | 1 | Switch Panel | ||
| 57M7733 | Узел электрич. разъема | 1 | Switch Panel | |||
| 16 | 57M7263 | Корпус электр. разъема | 1 | Rate Select | ||
| 57M7291 | Узел электрич. разъема | 1 | Rate Select | |||
| 17 | 57M7896 | Узел электрич. разъема | 1 | Diff. Lock | ||
| 18 | RE46735 | Узел электрич. разъема | 1 | Front Wiper Switch | ||
| 19 | 57M7624 | Узел электрич. разъема | 1 | Road Lights | ||
| 20 | 57M8815 | Корпус электр. разъема | 2 | Warning Switch | ||
| 21 | ...... | Узел электрич. разъема | 1 | Cigar Lighter | ||
| key | PART NO. | PART NAME | QTY | SERIAL NO. | REMARKS | |
| 22 | 57M9231 | Корпус электр. разъема | 1 | Reconfigarable Display |
| key | PART NO. | PART NAME | QTY | SERIAL NO. | REMARKS | |
|---|---|---|---|---|---|---|
| 1 | RE259370 | Жгут пров. передней фары | 1 | |||
| 2 | U46662 | Клемма электр. разъема | 2 | |||
| 3 | 57M8934 | Корпус электр. разъема | 2 | |||
| 4 | 57M8921 | Корпус электр. разъема | 2 | |||
| 5 | 57M7539 | Корпус электр. разъема | 1 | |||
| 6 | 57M8630 | Корпус электр. разъема | 1 |
| key | PART NO. | PART NAME | QTY | SERIAL NO. | REMARKS | |
|---|---|---|---|---|---|---|
| 1 | 19M9837 | Винт | 10 | M8 X 25 SUB FOR N306751 | ||
| 2 | AN304552 | Датчик | 5 | SUB FOR AN302242; ALSO ORDER N310619 | ||
| 3 | AN401540 | Кронштейн | 2 | SUB FOR N311178 AND AN402948 | ||
| 4 | N404818 | Хомут | 4 | |||
| 5 | 19M9847 | Винт | 4 | M10 X 45 | ||
| 6 | N207955 | Стопорная гайка | 18 | |||
| 7 | 57M7260 | Корпус электр. разъема | 1 | |||
| 57M8325 | Узел электрич. разъема | 1 | ||||
| RE207311 | Электрон. блок управления | 1 | CAN Terminator | |||
| 8 | 57M7264 | Корпус электр. разъема | 1 | BoomTrac™ Harness | ||
| key | PART NO. | PART NAME | QTY | SERIAL NO. | REMARKS | |
| 57M7252 | Клемма электр. разъема | 8 | ||||
| 57M9215 | Уплотнен. электр. разъема | 4 | ||||
| 57M7258 | Уплотнен. электр. разъема | 4 | ||||
| 9 | AZ62783 | Корпус электр. разъема | 1 | Ultrasonic Height Sensor | ||
| 57M8016 | Блок. устр. эл. разъема | 1 | ||||
| 57M7546 | Клемма электр. разъема | 4 | ||||
| 10 | AN302790 | Жгут проводов | 1 | BoomTrac™ Extension | ||
| 11 | N208099 | Винт | 4 | |||
| 12 | H75541 | Скоба | 1 | |||
| 13 | 14M7723 | Стопорная гайка | 5 | M10 SUB FOR N207957 | ||
| key | PART NO. | PART NAME | QTY | SERIAL NO. | REMARKS | |
| 14 | RE54029 | Узел попер. рулевой тяги | 1 | |||
| 15 | 24H1947 | Шайба | 6 | 1/4" X 9/16" X 0.049" | ||
| 16 | N203905 | Стопорная гайка | 2 | |||
| 17 | AN209924 | Датчик | 1 | |||
| 18 | P48347 | Уплотнительное кольцо | 2 | |||
| 19 | R72653 | Пружинное кольцо | 1 | |||
| 20 | R100686 | Опора | 1 | |||
| 21 | A4365R | Уплотнительное кольцо | 1 | |||
| 22 | AN302088 | Инструмент для установки | 1 | |||
| 23 | N318933 | Стопорная гайка | 2 | |||
| key | PART NO. | PART NAME | QTY | SERIAL NO. | REMARKS | |
| 24 | 21H1383 | Винт | 2 | 0.190" X 2" | ||
| 25 | N404820 | Кронштейн | 2 | |||
| 26 | N311182 | Распорная втулка | 4 | |||
| 27 | N404821 | Хомут | 4 | |||
| 28 | 03M7400 | Болт | 4 | M8 X 60 | ||
| 29 | N318932 | Распорная втулка | 4 | SUB FOR N162192 | ||
| 30 | N311184 | Кронштейн | 1 | |||
| 31 | N311185 | Кронштейн | 1 | |||
| 32 | 24H1975 | Шайба | 4 | 3/8" X 7/8" X 0.083" | ||
| 33 | N207957 | Стопорная гайка | 3 | |||
| key | PART NO. | PART NAME | QTY | SERIAL NO. | REMARKS | |
| 34 | 19M9836 | Винт | 2 | M8 X 20 | ||
| 35 | N317638 | П-образный болт | 2 | |||
| 36 | N407983 | Кронштейн | 2 | |||
| 37 | 14M7722 | Стопорная гайка | 10 | M8 |
| key | PART NO. | PART NAME | QTY | SERIAL NO. | REMARKS | |
|---|---|---|---|---|---|---|
| 1 | BN202556 | Комплект датчиков | 1 |
| key | PART NO. | PART NAME | QTY | SERIAL NO. | REMARKS | |
|---|---|---|---|---|---|---|
| 1 | BN909614 | Комплект датчиков | 1 | ORDER BN202556 AND BN202557 | ||
| 2 | BN202556 | Комплект датчиков | 1 | |||
| 3 | BN202557 | Комплект датчиков | 1 |
| key | PART NO. | PART NAME | QTY | SERIAL NO. | REMARKS | ||
|---|---|---|---|---|---|---|---|
| 1 | N311748 | Кронштейн | 1 | ||||
| 2 | 57M8902 | Зажимная скоба | 2 | ||||
| 3 | N311123 | Кронштейн | 1 | ||||
| 4 | T209627 | Скоба | 3 | ||||
| 5 | 19M9844 | Винт | 1 | M10 X 20 | |||
| 6 | AH80916 | Зажимная скоба | 1 | ||||
| 7 | N310615 | Уголок | 1 | ||||
| 8 | 57M8903 | Зажимная скоба | 2 | ||||
| 9 | 14M7649 | Фланцевая гайка | 2 | M8 | |||
| 10 | 19M9838 | Винт | 1 | M8 X 30 | |||
| key | PART NO. | PART NAME | QTY | SERIAL NO. | REMARKS | ||
| 11 | N310978 | Кронштейн | 1 | - | 055129 | ||
| 12 | N312846 | Кронштейн | 1 | ||||
| 13 | 19M9837 | Винт | 4 | M8 X 25 | |||
| 14 | N310977 | Кронштейн | 1 | ||||
| 15 | H77698 | Обвязной хомут | 5 | ||||
| 16 | 19M9347 | Винт | 1 | M12 X 30 | |||
| 17 | N311747 | Кронштейн | 1 | ||||
| 18 | 19M10318 | Винт с головкой | 1 | M14 X 20 | |||
| 19 | 24M7620 | Шайба | 1 | 16 X 24 X 3 mm | |||
| 20 | N312030 | Кронштейн | 1 | ||||
| key | PART NO. | PART NAME | QTY | SERIAL NO. | REMARKS | ||
| 21 | 24M7522 | Шайба | 2 | 8.400 X 16 X 1.600 mm | |||
| 22 | 14M7722 | Стопорная гайка | 4 | M8 | |||
| 23 | 19M10325 | Винт с головкой | 1 | M8 X 16 | |||
| 24 | N310847 | Кронштейн | 1 | ||||
| 25 | N312851 | Уголок | 1 | ||||
| 26 | 21M7585 | Винт | 1 | M10 X 20 | |||
| 27 | N191985 | Зажимная скоба | 2 | ||||
| 28 | 37M7452 | Винт | 1 | M8 X 30 | |||
| 29 | KK32490 | Кронштейн | 1 | 055130 | - | ||
| 30 | 19M7774 | Винт | 2 | M6 X 12 | |||
| key | PART NO. | PART NAME | QTY | SERIAL NO. | REMARKS | ||
| 31 | R252719 | Кронштейн | 1 | ||||
| 32 | KK27781 | Кронштейн | 1 | ||||
| 33 | R343208 | Скоба | 1 | ||||
| 34 | 14M7648 | Фланцевая гайка | 1 | M10 | |||
| 35 | AH76883 | Зажимная скоба | 1 | ||||
| 36 | 14M7743 | Гайка | 1 | M8 | |||
| 37 | R268905 | Винт | 2 | ||||
| 38 | R267349 | Шайба | 2 | ||||
| 39 | T27550 | Зажимная скоба | 3 |
| key | PART NO. | PART NAME | QTY | SERIAL NO. | REMARKS | |
|---|---|---|---|---|---|---|
| 1 | N191985 | Зажимная скоба | 1 | |||
| 2 | N310977 | Кронштейн | 1 | |||
| 3 | N311123 | Кронштейн | 1 | |||
| 4 | N311747 | Кронштейн | 1 | |||
| 5 | N311748 | Кронштейн | 1 | |||
| 6 | N312851 | Уголок | 1 | |||
| 7 | 21M7585 | Винт | 1 | M10 X 20 | ||
| 8 | 14M7722 | Стопорная гайка | 2 | M8 | ||
| 9 | 24M7522 | Шайба | 2 | 8.400 X 16 X 1.600 mm | ||
| 10 | 14M7743 | Гайка | 1 | M8 | ||
| key | PART NO. | PART NAME | QTY | SERIAL NO. | REMARKS | |
| 11 | 19M9347 | Винт | 1 | M12 X 30 | ||
| 12 | 19M9844 | Винт | 1 | M10 X 20 | ||
| 13 | 14M7649 | Фланцевая гайка | 1 | M8 | ||
| 14 | H77698 | Обвязной хомут | 9 | |||
| 15 | 19M9837 | Винт | 2 | M8 X 25 | ||
| 16 | H75541 | Скоба | 1 | SUB FOR AH76883 | ||
| 17 | 19M9826 | Винт с головкой | 1 | M12 X 25 | ||
| 18 | 19M9830 | Винт | 2 | M6 X 12 | ||
| 19 | T209627 | Скоба | 2 | |||
| 20 | R343208 | Скоба | 1 | |||
| key | PART NO. | PART NAME | QTY | SERIAL NO. | REMARKS | |
| 21 | KK32259 | Кронштейн | 1 | |||
| 22 | 19M9838 | Винт | 1 | M8 X 30 | ||
| 23 | KK32490 | Кронштейн | 1 | |||
| 24 | KK34700 | Кронштейн | 1 | |||
| 25 | 57M12147 | Скоба | 1 | |||
| 26 | AKK22296 | Кронштейн | 1 | |||
| 27 | KK37523 | Кронштейн | 1 | |||
| 28 | KK37524 | Уголок | 1 | |||
| 29 | 57M10630 | Комплект скоб | 1 |
| key | PART NO. | PART NAME | QTY | SERIAL NO. | REMARKS | |
|---|---|---|---|---|---|---|
| 1 | RE51234 | Нажимной переключатель | 1 | |||
| 2 | R44097 | Гайка | 1 | |||
| .. | 99M7095 | Заглушка | 1 |
| key | PART NO. | PART NAME | QTY | SERIAL NO. | REMARKS | |
|---|---|---|---|---|---|---|
| 1 | RE12364 | Узел электрич. разъема | 1 | Console Power Harness | ||
| 2 | 57M7390 | Корпус электр. разъема | 1 | |||
| 3 | ...... | Крышка | 1 | |||
| 4 | RE297563 | Жгут проводов | 1 | |||
| 5 | R108166 | Заклепка | 4 |
| key | PART NO. | PART NAME | QTY | SERIAL NO. | REMARKS | |
|---|---|---|---|---|---|---|
| 1 | PG200299 | Контроллер рулев. управл. | 1 | |||
| 2 | 19M7834 | Винт | 2 | M6 X 45 | ||
| 3 | R231112 | Изолятор | 4 | |||
| 4 | N304440 | Кронштейн | 1 | |||
| 5 | 37M7090 | Винт | 2 | M6 X 16 | ||
| 6 | M86500 | Трак | 1 |
| key | PART NO. | PART NAME | QTY | SERIAL NO. | REMARKS | |
|---|---|---|---|---|---|---|
| 1 | 14M7649 | Фланцевая гайка | 1 | M8 | ||
| 2 | 19M9836 | Винт | 1 | M8 X 20 | ||
| 3 | 21H1498 | Винт | 2 | 0.190" X 2" | ||
| 4 | A4365R | Уплотнительное кольцо | 1 | |||
| 5 | AH80916 | Зажимная скоба | 1 | |||
| 6 | AN209468 | Датчик | 1 | |||
| 7 | AN206882 | Рукоять | 1 | |||
| 8 | AN207061 | Кронштейн | 1 | |||
| 9 | N203905 | Стопорная гайка | 2 | |||
| 10 | N307089 | Крышка | 1 | |||
| key | PART NO. | PART NAME | QTY | SERIAL NO. | REMARKS | |
| 11 | P48347 | Уплотнительное кольцо | 2 | |||
| 12 | R100686 | Опора | 1 | |||
| 13 | R26871 | Пружинное кольцо | 1 | |||
| 14 | R41076 | Уплотнение | 1 | |||
| 15 | AN206377 | Узел попер. рулевой тяги | 1 | |||
| 16 | T10581 | Стопорная гайка | 2 | |||
| 17 | N303934 | Желоб | 1 | |||
| 18 | 19M7759 | Винт с головкой | 2 | M16 X 60 | ||
| 19 | 19M10329 | Винт с головкой | 2 | M8 X 40 | ||
| 20 | 14M7722 | Стопорная гайка | 2 | M8 |
| key | PART NO. | PART NAME | QTY | SERIAL NO. | REMARKS | |
|---|---|---|---|---|---|---|
| 1 | R52931 | Винт | 2 | |||
| 2 | R291684 | Шайба | 2 | |||
| 3 | 19M7866 | Винт | 2 | M8 X 20 | ||
| 4 | M84972 | Гайка | 4 | |||
| 5 | 37M7091 | Винт | 4 | M6 X 25 | ||
| 6 | R257681 | Пластина | 1 | |||
| 7 | 37M7290 | Винт | 2 | |||
| 8 | R105388 | Обвязной хомут | 6 | |||
| 9 | R44302 | Обвязной хомут | 7 | |||
| 10 | RE60634 | Кабель аккумулятора | 1 | |||
| key | PART NO. | PART NAME | QTY | SERIAL NO. | REMARKS | |
| 11 | 37M7058 | Винт | 1 | M8 X 20 | ||
| 12 | 37M7089 | Винт | 8 | M6 X 12 | ||
| 13 | 19M7167 | Винт с головкой | 1 | M10 X 25 | ||
| 14 | 24M7028 | Шайба | 1 | 10.500 X 20 X 2 mm | ||
| 15 | 37M7061 | Винт | 4 | M5 X 20 | ||
| 16 | R118309 | Уплотнение | 1 | |||
| 17 | R132404 | Опора | 1 | RH | ||
| 18 | E90041 | Заглушка | 1 | |||
| 19 | R325797 | Пластина | 1 | |||
| 20 | R81988 | Трак | 2 |
| key | PART NO. | PART NAME | QTY | SERIAL NO. | REMARKS | |
|---|---|---|---|---|---|---|
| 1 | 57M9592 | Клемма электр. разъема | 2 | |||
| 2 | 57M7256 | Корпус электр. разъема | 1 | Right Inner Fold Position Switch | ||
| 57M7289 | Блок. устр. эл. разъема | 1 | ||||
| 57M8910 | Зажимная скоба | 1 | ||||
| 3 | RE12364 | Узел электрич. разъема | 1 | Roll Position | ||
| R78054 | Узел электрич. разъема | 1 | ||||
| R78064 | Пробка пол. эл. разъема | 1 | ||||
| 4 | 57M7264 | Корпус электр. разъема | 1 | L1/L2 Spray | ||
| 57M7283 | Блок. устр. эл. разъема | 1 | ||||
| 5 | 57M7839 | Узел электрич. разъема | 1 | Center Spray | ||
| key | PART NO. | PART NAME | QTY | SERIAL NO. | REMARKS | |
| 57M7469 | Узел электрич. разъема | 1 | ||||
| 6 | 57M7264 | Корпус электр. разъема | 1 | R1/R2 SPRAY | ||
| 57M7283 | Блок. устр. эл. разъема | 1 | ||||
| 7 | 57M7796 | Корпус электр. разъема | 1 | Solution Pressure | ||
| 8 | 57M7256 | Корпус электр. разъема | 1 | Left Inner Fold Position Switch | ||
| 57M7289 | Блок. устр. эл. разъема | 1 | ||||
| 57M8910 | Зажимная скоба | 1 | ||||
| 9 | 57M7257 | Корпус электр. разъема | 1 | FLOWMETER 2 | ||
| 57M7290 | Узел электрич. разъема | 1 | ||||
| 57M7255 | Корпус электр. разъема | 1 | ||||
| key | PART NO. | PART NAME | QTY | SERIAL NO. | REMARKS | |
| 57M7259 | Уплотнен. электр. разъема | 1 | ||||
| 10 | 57M7257 | Корпус электр. разъема | 1 | FLOWMETER 1 | ||
| 57M7290 | Узел электрич. разъема | 1 | ||||
| 11 | AZ62783 | Корпус электр. разъема | 1 | Center Boomtrac | ||
| 57M8016 | Блок. устр. эл. разъема | 1 | ||||
| 12 | RE42193 | Узел электрич. разъема | 1 | Roll Bias | ||
| T138822 | Узел электрич. разъема | 1 | ||||
| R78064 | Пробка пол. эл. разъема | 1 | ||||
| 13 | T126704 | Узел электрич. разъема | 1 | |||
| 14 | RE12366 | Узел электрич. разъема | 1 | |||
| key | PART NO. | PART NAME | QTY | SERIAL NO. | REMARKS | |
| 15 | RE12365 | Узел электрич. разъема | 1 | |||
| 16 | RE42193 | Узел электрич. разъема | 1 | |||
| 17 | RE42193 | Узел электрич. разъема | 1 | |||
| 18 | RE12365 | Узел электрич. разъема | 1 | |||
| 19 | 57M8523 | Корпус электр. разъема | 1 | Blue | ||
| 57M8528 | Колпачок электр. разъема | 1 | ||||
| 20 | 57M8524 | Корпус электр. разъема | 1 | Brown | ||
| 57M8528 | Колпачок электр. разъема | 1 | ||||
| 21 | 57M9438 | Корпус электр. разъема | 1 | To Chassis | ||
| 22 | AN303020 | Жгут проводов | 1 | |||
| key | PART NO. | PART NAME | QTY | SERIAL NO. | REMARKS | |
| 23 | AZ51566 | Узел электрич. разъема | 1 | |||
| 57M7766 | Клемма электр. разъема | 1 | ||||
| 24 | RE12363 | Клемма электр. разъема | 1 | L/R Warning Light | ||
| 25 | 57M7839 | Узел электрич. разъема | 1 | L/R Fence Row Valve | ||
| 57M7469 | Узел электрич. разъема | 1 | ||||
| 57M7840 | Корпус электр. разъема | 1 | ||||
| 57M7259 | Уплотнен. электр. разъема | 1 | ||||
| 26 | 57M7839 | Узел электрич. разъема | 1 | L3/R3 Solution Valve | ||
| 57M7469 | Узел электрич. разъема | 1 | ||||
| 27 | AZ62783 | Корпус электр. разъема | 1 | L1/R1 Boom Trac | ||
| key | PART NO. | PART NAME | QTY | SERIAL NO. | REMARKS | |
| 57M8016 | Блок. устр. эл. разъема | 1 | ||||
| 28 | 57M7261 | Корпус электр. разъема | 1 | Boomtrac Extension Harness Connector | ||
| 57M7296 | Вспом. электр. разъем | 1 | ||||
| 57M7264 | Корпус электр. разъема | 1 | ||||
| 57M7283 | Блок. устр. эл. разъема | 1 | ||||
| 57M7259 | Уплотнен. электр. разъема | 1 | ||||
| 29 | 57M7256 | Корпус электр. разъема | 1 | L/R Outer Fold Position Switch | ||
| 57M7289 | Блок. устр. эл. разъема | 1 | ||||
| 57M8910 | Зажимная скоба | 1 | ||||
| 30 | AN303016 | Жгут проводов | 1 | |||
| key | PART NO. | PART NAME | QTY | SERIAL NO. | REMARKS | |
| 31 | 57M7765 | Стопорная шайба | 1 | |||
| 32 | E73240 | Гайка | 1 |
| key | PART NO. | PART NAME | QTY | SERIAL NO. | REMARKS | |
|---|---|---|---|---|---|---|
| 1 | AZ51566 | Узел электрич. разъема | 1 | |||
| 2 | RE12363 | Клемма электр. разъема | 1 | Warning Light | ||
| 3 | 57M7839 | Узел электрич. разъема | 3 | Fence Row Valve / Solution Valve | ||
| 57M7840 | Корпус электр. разъема | 3 | ||||
| 4 | 57M7469 | Узел электрич. разъема | 3 | |||
| 5 | 57M7259 | Уплотнен. электр. разъема | AR | |||
| 6 | 57M7256 | Корпус электр. разъема | 1 | Outer Fold Position Switch | ||
| 57M8910 | Зажимная скоба | 1 | ||||
| 7 | AZ62783 | Корпус электр. разъема | 1 | BoomTrac™ | ||
| 8 | 57M7261 | Корпус электр. разъема | 1 | BoomTrac™ Extension Harness Connection | ||
| key | PART NO. | PART NAME | QTY | SERIAL NO. | REMARKS | |
| 57M7264 | Корпус электр. разъема | 1 | ||||
| 9 | 57M8016 | Блок. устр. эл. разъема | 1 | |||
| 10 | 57M7296 | Вспом. электр. разъем | 1 | |||
| 11 | 57M7283 | Блок. устр. эл. разъема | 1 | |||
| 12 | 57M7289 | Блок. устр. эл. разъема | 1 | |||
| 13 | AKK16758 | Жгут проводов | 1 |
| key | PART NO. | PART NAME | QTY | SERIAL NO. | REMARKS | |
|---|---|---|---|---|---|---|
| 1 | AKK16757 | Жгут проводов | 1 | |||
| 2 | 57M7256 | Корпус электр. разъема | 2 | Inner Fold Position Switch | ||
| 3 | 57M10630 | Комплект скоб | 8 | |||
| 4 | RE12364 | Узел электрич. разъема | 1 | Roll Position | ||
| 5 | 57M7264 | Корпус электр. разъема | 2 | Spraying | ||
| 6 | 57M7839 | Узел электрич. разъема | 1 | Center Spraying | ||
| 7 | 57M8015 | Узел электрич. разъема | 1 | Solution Press | ||
| 8 | 57M8910 | Зажимная скоба | 2 | |||
| 9 | 57M7257 | Корпус электр. разъема | 2 | Flowmeter | ||
| 10 | 57M8908 | Зажимная скоба | 4 | |||
| key | PART NO. | PART NAME | QTY | SERIAL NO. | REMARKS | |
| 11 | 57M11286 | Вспом. электр. разъем | 1 | BoomTrac™ | ||
| 57M7535 | Клемма электр. разъема | 1 | ||||
| 57M7658 | Узел электрич. разъема | 1 | ||||
| 12 | 57M7227 | Корпус электр. разъема | 1 | Roll Bias | ||
| 13 | T126704 | Узел электрич. разъема | 1 | Six Way Tower | ||
| 14 | RE12366 | Узел электрич. разъема | 1 | |||
| 15 | RE12365 | Узел электрич. разъема | 2 | Four Way Tower | ||
| 16 | RE42193 | Узел электрич. разъема | 2 | |||
| 17 | ...... | Клемма электр. разъема | 4 | |||
| 18 | T209627 | Скоба | 3 | |||
| key | PART NO. | PART NAME | QTY | SERIAL NO. | REMARKS | |
| 19 | 57M9438 | Корпус электр. разъема | 1 | To Chassis | ||
| 20 | 57M10608 | Корпус электр. разъема | 1 | Brown | ||
| 21 | 57M10606 | Корпус электр. разъема | 1 | Blue | ||
| 22 | 57M9592 | Клемма электр. разъема | 2 | |||
| 23 | T209627 | Скоба | 2 | |||
| 24 | 57M7765 | Стопорная шайба | 2 | |||
| 25 | E73240 | Гайка | 2 | |||
| 26 | 57M8016 | Блок. устр. эл. разъема | 1 |
| key | PART NO. | PART NAME | QTY | SERIAL NO. | REMARKS | |
|---|---|---|---|---|---|---|
| 1 | AKK23470 | Жгут проводов | 1 | |||
| 2 | R78053 | Узел электрич. разъема | 2 | |||
| 3 | R78054 | Узел электрич. разъема | 2 | |||
| 4 | 57M7349 | Вспом. электр. разъем | 2 | |||
| 57M7347 | Вспом. электр. разъем | 2 | ||||
| 5 | 57M7255 | Корпус электр. разъема | 2 | |||
| 57M7317 | Вспом. электр. разъем | 2 | ||||
| 6 | 57M7254 | Корпус электр. разъема | 1 | |||
| 57M9712 | Вспом. электр. разъем | 1 | ||||
| 7 | RE258807 | Обвязной хомут | 17 |
| key | PART NO. | PART NAME | QTY | SERIAL NO. | REMARKS | ||
|---|---|---|---|---|---|---|---|
| 1 | AN303140 | Жгут проводов | 1 | - | 055069 | ||
| 2 | AN208025 | Датчик скор. вращ. кол. | 1 | ||||
| 3 | AN207545 | Жгут проводов | 1 | (B) | |||
| 4 | AN207544 | Жгут проводов | 2 | (C) | |||
| 5 | AKK19059 | Жгут проводов | 1 | 055070 | - | ||
| 6 | 57M8018 | Узел электрич. разъема | 1 | ||||
| 7 | 57M8021 | Узел электрич. разъема | 5 | ||||
| 57M8022 | Блок. устр. эл. разъема | 5 | |||||
| 8 | 57M9130 | Узел электрич. разъема | 1 | ||||
| 57M9132 | Блок. устр. эл. разъема | 1 | |||||
| key | PART NO. | PART NAME | QTY | SERIAL NO. | REMARKS | ||
| 9 | R78056 | Узел электрич. разъема | 2 | ||||
| 10 | R78053 | Узел электрич. разъема | 3 |
| key | PART NO. | PART NAME | QTY | SERIAL NO. | REMARKS | |
|---|---|---|---|---|---|---|
| 1 | PFA10328 | Приемник положения | 1 | SUB FOR PF81359 | ||
| 2 | PFP10470 | Жгут проводов | 1 | |||
| 3 | 21M7246 | Винт | 5 | M6 X 16 | ||
| 4 | PFA10072 | Кронштейн | 1 | Deluxe Shroud | ||
| 5 | PF12984 | Кронштейн | 1 | |||
| 6 | PF81189 | Фиксатор | 1 | |||
| 7 | PF12985 | Крышка | 1 | |||
| 8 | PF12989 | Заслонка | 1 | |||
| 9 | PF11569 | Винт | 9 | |||
| 10 | PF13123 | Обвязной хомут | 2 | |||
| key | PART NO. | PART NAME | QTY | SERIAL NO. | REMARKS | |
| 11 | PFP10469 | Жгут проводов | 1 | |||
| 12 | PF13007 | Изолятор | 4 | |||
| .. | PF90944 | Полный комплект д/пост. | 1 |
| key | PART NO. | PART NAME | QTY | SERIAL NO. | REMARKS | |
|---|---|---|---|---|---|---|
| 1 | AN403460 | Кронштейн | 1 | |||
| 2 | 14M7744 | Фланцевая гайка | 4 | M6 | ||
| 3 | 03M7467 | Болт | 4 | M6 X 16 |
| key | PART NO. | PART NAME | QTY | SERIAL NO. | REMARKS | |
|---|---|---|---|---|---|---|
| 1 | RE313207 | Жгут проводов | 1 | |||
| 2 | RE46734 | Узел электрич. разъема | 1 | Blower Switch | ||
| 3 | 57M7789 | Корпус электр. разъема | 1 | A/C On/Off Switch | ||
| 57M7724 | Узел электрич. разъема | 1 | ||||
| 4 | 57M9229 | Зажимная скоба | 3 | |||
| 5 | R77476 | Узел электрич. разъема | 1 | Blower Motor | ||
| 6 | 57M7457 | Корпус электр. разъема | 1 | Dropping Registar Network | ||
| 7 | 57M10452 | Корпус электр. разъема | 1 | A/C De-Icing Switch | ||
| 8 | 57M7784 | Узел электрич. разъема | 1 | Backlighting | ||
| 57M7723 | Узел электрич. разъема | 1 | ||||
| key | PART NO. | PART NAME | QTY | SERIAL NO. | REMARKS | |
| 9 | 57M7697 | Узел электрич. разъема | 1 | Cab Harness | ||
| 57M7699 | Клемма электр. разъема | 1 | ||||
| 10 | RE240999 | Реле | 1 | KX1 | ||
| 11 | 57M7328 | Корпус электр. разъема | 1 | A/C Hi/Low Switch | ||
| 57M7289 | Блок. устр. эл. разъема | 1 |
| key | PART NO. | PART NAME | QTY | SERIAL NO. | REMARKS | |
|---|---|---|---|---|---|---|
| 1 | PFA10631 | Мод. дисп. GreenStar | 1 | (A) | ||
| 2 | PF81358 | Колпачок | 1 | (B) | ||
| 3 | 21M1689 | Винт с барашком | 2 | M6 X 12 | ||
| 4 | PF91091 | Полный комплект д/пост. | 1 | (A) | ||
| PFA10058 | Комплект оборудования | 1 | (C) |
| key | PART NO. | PART NAME | QTY | SERIAL NO. | REMARKS | ||
|---|---|---|---|---|---|---|---|
| 1 | T209627 | Скоба | 6 | ||||
| 2 | 24M7333 | Шайба | 10 | 5.300 X 10 X 1 mm | |||
| 3 | AKK22001 | Кронштейн | 1 | ||||
| 4 | AKK22002 | Кронштейн | 1 | ||||
| 5 | AL75642 | Боковая фара | 2 | ||||
| 57M7014 | Лампа накаливания | 2 | |||||
| 57M6498 | Лампа | 2 | |||||
| 6 | N303632 | Стопорная гайка | 4 | ||||
| 7 | L58614 | Пластина | 1 | ||||
| 8 | 19M7372 | Винт с головкой | 4 | M5 X 16 | |||
| key | PART NO. | PART NAME | QTY | SERIAL NO. | REMARKS | ||
| 9 | AKK20401 | Лампа | 1 | ||||
| 57M7013 | Лампа накаливания | 1 | 12V/10W | ||||
| 10 | WZ2600036 | Отражатель | 2 | ||||
| 11 | 19M10057 | Винт | 4 | M8 X 70 | |||
| 12 | 14M7649 | Фланцевая гайка | 4 | M8 | |||
| 13 | AZ47247 | Отражатель | 10 | ||||
| 14 | M96130 | Заклепка | 2 | ||||
| 15 | AM140404 | Отражатель | 2 | ||||
| 16 | AL112964 | Задний огонь | 2 | ||||
| 17 | 21M7271 | Винт | 2 | M5 X 16 | |||
| key | PART NO. | PART NAME | QTY | SERIAL NO. | REMARKS | ||
| 18 | 14M7265 | Стопорная гайка | 2 | M5 | |||
| 19 | KK20507 | Кронштейн | 1 | - | 055115 | ||
| KK40627 | Кронштейн | 1 | 055116 | - | |||
| 20 | H77698 | Обвязной хомут | 2 | ||||
| 21 | 14M7648 | Фланцевая гайка | 4 | M10 | |||
| 22 | 19M9988 | Винт | 4 | M10 X 100 | |||
| 23 | 14M7724 | Стопорная гайка | 6 | M12 | |||
| 24 | 14M7726 | Стопорная гайка | 3 | M16 | |||
| 25 | 19M9347 | Винт | 6 | M12 X 30 | |||
| 26 | 19M9982 | Винт | 3 | M16 X 40 | |||
| key | PART NO. | PART NAME | QTY | SERIAL NO. | REMARKS | ||
| 27 | JD5920 | Отражатель | 4 | ||||
| 28 | JD5922 | Отражатель | 4 | ||||
| 29 | KK36714 | Трубчатый профиль | 2 | ||||
| 30 | KK38273 | Пластина | 1 | ||||
| 31 | KK38314 | Пластина | 2 | ||||
| 32 | KK40421 | Кронштейн | 1 | ||||
| 33 | N318894 | Хомут | 1 |
| key | PART NO. | PART NAME | QTY | SERIAL NO. | REMARKS | |
|---|---|---|---|---|---|---|
| 1 | KK43194 | Кронштейн | 1 | |||
| 2 | KK37860 | Кронштейн | 1 | |||
| 3 | R47474 | Зажимная скоба | 4 | |||
| 4 | 19M10204 | Винт | 1 | M8 X 75 | ||
| 5 | H224073 | Обвязной хомут | 2 | |||
| 6 | 37M7090 | Винт | 2 | M6 X 16 | ||
| 7 | H224072 | Скоба | 2 | |||
| 8 | RE258807 | Обвязной хомут | 8 | |||
| 9 | 24M7298 | Шайба | 2 | 8.400 X 25 X 2 mm | ||
| 10 | L76801 | Уплотнение | 1 | |||
| key | PART NO. | PART NAME | QTY | SERIAL NO. | REMARKS | |
| 11 | 37M7084 | Винт | 4 | M8 X 25 | ||
| 12 | PFA10879 | Антенна | 1 | |||
| 13 | 21H1442 | Винт | 2 | 0.112" X 3/8" | ||
| 14 | PFA10884 | Антенна | 1 | |||
| 15 | PH50229231 | Узел электрич. разъема | 1 | |||
| 16 | PH60228055 | Крышка | 1 | |||
| 17 | PFP16073 | Кабель | 1 | |||
| 18 | KK44662 | Кронштейн | 1 | |||
| 19 | RE345148 | Кабель | 1 | |||
| 20 | RE556567 | Кабель | 1 | |||
| key | PART NO. | PART NAME | QTY | SERIAL NO. | REMARKS | |
| 21 | PFA10878 | Антенна | 1 | |||
| 22 | RE319360 | Жгут проводов кабины | 1 |